智东西(公众号: zhidxcom)
编 | 智东西内参
随着人工智能的艰难发展,智能手机增长的放缓, 苹果公司能否第三次重塑自我?
在很多方面,苹果仍然是一家以Steve Jobs个人形象制造的公司,专注于颠覆性产品。但今天,苹果走在了十字路口。在CEO Tim Cook的带领下,苹果公司抓住新兴技术的能力引发了许多新的问题。苹果的下一步将是什么?
本期的智能内参,我们推荐来自CBInsight的报告,挖掘苹果的专利,并购和财报,最近的产品和公司组织结构等信息,揭示苹果公司未来走向,具体的自我重塑方法。如果想收藏本文的报告全文(CBINSIGHTS:苹果未来策略拆解),可以在智东西公众号:(zhidxcom)回复关键词“nc289”获取。
以下为本期智能内参整理呈现的干货:
苹果公司是出名的秘密保守者。围绕着公司的一举一动,苹果被认为致力于AR头戴设备、联网汽车软件、变革医疗保健设备和应用,以及智能家居技术和新机器学习应用等方面。我们挖掘了苹果的专利,并购和财报,最近的产品发布和公司组织结构信息,揭示公司具体的自我重塑方法。
组织和发展优先级
如恐怖组织般的组织架构
苹果过去常常以其自上而下的管理方式臭名昭着。Steve Jobs团队的长期由值得信赖的成员组成,现任首席执行官Tim Cook最初从康柏公司被聘请到苹果,改造公司破碎的供应链。与乔布斯形成鲜明对比的是,Tim Cook是一个“无情的家伙”,他通过管理业务中无趣的部分升到了乔布斯的核心圈子。
今天,Jonathan Ive似乎已经掌控苹果的设计主管的位置,这个职位曾经由Jobs担任,而Cook则管理其他所有事情。根据苹果在其网站上的关键人物页面,Tim Cook有17个直系下属,包括Ive,首席财务官Luca Maestri,首席运营官Jeff Williams以及各种SVP和副总裁。

▲苹果公司领导层
苹果的秘密在组织内部延伸,每个项目团队内部需要知道。团队通常不知道其他团队正在做什么,而且公司故意将他们分开。前硬件执行官Jon Rubinstein曾告诉《商业周刊》,“我们有很多小团队,就像一个恐怖组织……一切都建立在“需要知道”的基础上。”值得注意的是,苹果公司是一个“功能性组织”,意味着它不会根据产品系列分裂自己,例如,根据iPhone或Mac专门的团队。相反,苹果是按功能组织的,因此Phil Schiller的营销组织负责所有产品的营销。鉴于该公司在软件和服务,手机和计算机硬件方面的多元化业务,这无疑是一个笨重的结构。但与此同时,这种结构允许苹果保留些可能被称为创业心态的东西。
在并购活动方面,苹果的并购重点集中在当时的主导产品。在过去的十年中,那就是iPhone及其iOS。正如Above Avalon的分析师Neil Cybart指出的那样:
“对于Mac来说,它曾经是同样的道路:“从1997年并购NeXT开始的10年间,除了并购苹果之外的所有并购都是与加强Mac平台有关。虽然当时苹果公司的产品线可能并未完全受到冲击,但值得注意的是并购并未用于iPod或扩展到其他产品类别或行业。从2003年到2007年,苹果公司经历了至少五年没有并购活动。虽然当时外界并不知情,但这个“缓冲区”最终成为iPhone发展的关键时期。自从2008年并购P.A.半导体后,每次并购都只关注加强iPhone和iOS平台。这一新的iOS焦点引领了并购步伐和并购金额的显着增长。”
硬件工程师在苹果依然很吃香
截至目前,约有80,000名直属苹果公司的员工。为了了解苹果期望的职位,我们最近从其网站收集了数据,并分析了公司的7,000多个公开招聘列表。硬件工程处于领先优势,占开放职位的34%。第二大板块是软件工程,占28%,其次是销售(9%)和运营(8%)。对于一家宣传其不断发展的服务业务并在人工智能和AR等竞争中击败其他公司的公司而言,苹果公司竟专注于招聘硬件工作,这有点令人惊讶。

▲苹果公开招聘列表
苹果最近招聘了一些重要人员。该公司说服前Burberry CEO Angela Ahrendts领导其零售店。今年6月,苹果还挖走了两名来自索尼的好莱坞老兵,以Eddy Cue的名义率先推出了百亿美元的原创内容。此外,据报道苹果在以色列拥有1,000名工程师,专门从事ARKit工作。
未来焦点:新兴市场和新产品
除了招聘列表之外,我们还挖掘了苹果的年度财报电话会议,突出显示其成绩单中的重复关键字,使用显着性加权方案来找到单词和短语。在过去的5年里,iPhone已经占据了会议谈话的主导地位,其他主要产品如iPad和Mac也是如此。多年来,经常提到中国,巴西,俄罗斯和美国等地区,但在2017年,印度似乎成了新的焦点。随着中国和美国等成熟市场的增长放缓,苹果越来越多地寻求印度等新兴市场的增长。

▲ 苹果历年财报电话会议关键词
AirPods,Apple Watch和AR也有越来越多的提及。苹果公司越来越强调其在“服务”(即支持软件的数字购买和云服务)中强劲表现,包括Apple Music。然而,正如我们在招聘和其他领域所看到的,硬件仍然是一个焦点。随着移动普及率的提高,苹果公司应对“升级速度”的战略正在放缓,以及它对高利润“高端”市场的发挥已经成为另一个主题。在这里,苹果正在改变iPhone销售放缓以及努力从客户那里夺取更多终身收入的努力。与谷歌相比,谷歌自称是AI的第一家公司,并经常在财报电话中提到AI,相比苹果高管并没有在收益电话中强调AI。
改变未来的举措
1、押宝AI,从并购开始
在AI方面拉开的帷幕,苹果似乎落后了。据第三方数据源Verto Analytics称,去年苹果语音助手Siri的使用量下降,相比之下亚马逊Alexa的使用量增长。用HomePod扩展Siri ,苹果公司以此对抗亚马逊的Echo和Google Home的高级音频AI。但经过了几次跳票,其于2018年年初才正式发布。
更广泛地说,苹果似乎有意识地绕开了大数据和AI。对于今天的许多公司而言,每个用户交互都被投入到基于云的机器学习模型中,以帮助调整产品,例如在照片应用中标记照片。谷歌照片被认为是面向消费者的一个主要例子。但苹果采取了一种可能被称为“云端警惕”的方法,倾向于一种模式,在这种模式下,计算基本上是由本地设备完成的,而没有用户数据离开设备。这部分是因为苹果公司主要从事销售设备业务,而不是像竞争对手Facebook和谷歌那样销售广告而试图尽可能利用云中的用户数据,以增加消费者对其平台的参与度。
2015年,Tim Cook公开表示苹果公司在用户隐私方面的立场,他说道,
“一些最杰出和最成功的公司通过让客户对自己的个人信息感到自满而建立了自己的业务。他们正在吞噬他们可以了解到的关于你的一切,并试图将其货币化。我们认为这是错误的。而且苹果不希望成为那种公司。”
AI并购趋势
不可避免地,加强苹果的产品意味着必须转向AI。今年,苹果推出了一款名为Core ML的新机器学习框架,该框架将为其iOS开发人员社区提供创建应用程序的能力,这些应用程序利用机器学习进行更多的设备计算。 Core ML还具有计算机视觉和自然语言处理框架,使应用程序能够标记照片和对象并识别语言。
新的人工智能焦点在其并购行动中得到了回应,而苹果公司已成为AI初创公司中第二大最活跃的并购者,在过去的5年中共有11项与AI相关的并购。最近的交易包括苹果9月份并购图像平台REGAIND,以及5月以2亿美元的价格并购Lattice Data。
即使只考虑其最大的并购,最近苹果公司在并购机器学习的初创公司上花费很大。 Beats和Anobit等硬件公司已经花费了2亿美元或更多的价钱并购,但在过去的两年里,Turi和Lattice由于开发了横向AI而在并购价格上名列前茅。 苹果并购的其他许多公司都是半导体公司,包括Anobit Technologies、PrimeSense和AuthenTec。随着公司现在为iPhone设计自己的机器学习GPU硬件,我们将可以看到在此类行业更多的并购。
苹果公司在设计专用芯片方面的优势将派上用场,因为像英特尔,高通和谷歌这样的企业为数据中心和设备投入了数十亿美元的机器学习专用芯片。目前,芯片世界白热化,现有企业和风险投资支持的初创公司正在寻找卓越的GPU制造商Nvidia。通过在其最新的iPhone中添加苹果设计的GPU,该公司显然正在认真对待AI的硬件前端。但是,要让苹果在这里发起有意义的攻击,它需要在软件和数据方面取得成功。
AI专利趋势
苹果在寻求知识产权专利保护方面相当积极。最著名的是,它已经为iPhone的包装和苹果 Store购物袋等相对平凡的东西申请了专利。当然,个别专利可能只是潜在产品的早期草图。许多专利并不等同于产品。但综合起来,数百项专利活动可以揭示战略方向和优先事项。

▲ 苹果在不同领域专利申请数量
有趣的是,苹果的顶级专利部分是网络安全,自2009年以来已经有533项专利。下一个最常见的家长焦点是AR / VR(253项专利),其次是自动驾驶汽车(72项)。相比之下,只有一小部分专利(22)专注于AI。苹果公司在其AI专利组合方面落后的事实基于通过比较五大全球科技公司(市值最大的公司)的AI相关专利而得到。

▲ 苹果和微软,亚马逊,Facebook,谷歌AI专利对比
今天,FaceID通过红外光线来识别用户的脸部来解锁iPhone X(S),是iPhone X(S)最热门的新功能。但在查看专利时,这方面的回顾是明确的。自2015年以来,苹果已经获得了5项专利授权和2项面部识别专利申请。此外,它还在2015年并购了面部跟踪软件制造商Faceshift。同样,苹果今年获得了至少两项专利,回想起来似乎是关键iPhone X(S)屏幕创新:一个用于减少设备的边框区域,另一个用于在显示屏中嵌入指纹传感器。下图是苹果公司的专利“锁定和解锁使用面部识别的移动设备”(2016年10月授予)与推出的最终产品:显然,苹果的未来方向并未脱离专利和并购赌注。鉴于我们所看到的数据,AR看起来完全符合苹果的交叉策略。

▲ 苹果的面部识别专利和最终产品
2、AR是苹果布局的重点
AR并购趋势
AR近年来一直是一个严肃的并购目标:可以说苹果公司最近收购的最重要的就是PrimeSense,其红外(IR)技术首先在Kinect中掀起波澜,Kinect是微软Xbox的车身感应插件。最新iPhone中的“探测器”基本上是一个缩小的Kinect,以启用FaceID。虽然它现在主要用于映射人脸,但iPhone X(S)中的红外摄像头可以被未来的AR应用程序用于启用前置AR应用程序。例如,您可以将手机指向一个空置的地方,手机会将数千个红外点喷射到该区域的轮廓中,以呈现定制房屋在该区域的外观。而其他AR / VR收购,如最近的Sensomotoric Instruments交易,AR耳机的计算机视觉公司,表明苹果在这个领域的严重渴求。早期的AR收购包括苹果购买FlyBy Media和metaio。同时,面部识别采集(Emotient,RealFace和Faceshift)当然也可以采用适用的技术。值得注意的是,最近以3000万美元收购Vrvana表明苹果正在推出AR耳机/眼镜。 Vrvana的耳机技术(如下图所示)提供AR和VR功能。到目前为止,它似乎是苹果的第一个AR硬件(而不是AR软件)。

▲Vrvana头戴设备
AR专利趋势
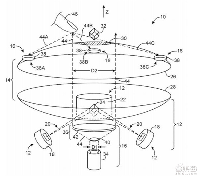
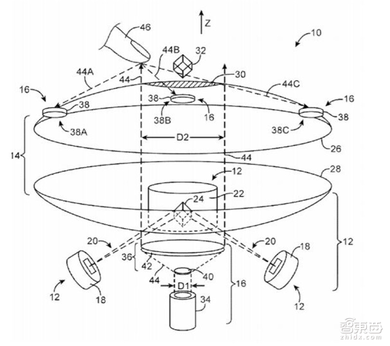
苹果公司也正在寻找超越实体iPhone屏幕的AR,即全息投影。下面称为“交互式三维显示系统”的专利申请详细描述了一种投影全息图类型图像的系统,该系统可以由用户在半空中操纵,而不需要特殊的眼镜。该专利申请于2012年10月,可能成为更大的AR功能的一部分,并涉及到教育,医疗诊断和生物医学工程的可能应用领域。全息图形式的AR无疑是增强现实可能采用的未来方向。通过全息图的AR意味着投影仪可以将图像发送到物理环境中(就像星球大战这样的电影中的一样)。

▲苹果全息专利
通过这种方法,全息图可以消除对笨重的头戴设备的需求,这是消费者采用AR的一大障碍。 Lightform是一家总部位于旧金山的创业公司,已筹集近800万美元用于实现这一功能。
AR财报会议和未来的offer趋势
Tim Cook虽然对未来的产品一直保持缄默,但他倾向于在采访和季度收益电话会议中预示苹果的举措。为了了解将要发生的事情,我们查看了公司盈利电话中提到的技术和地点,并使用CB Insights的收入成绩单搜索引擎随着时间的推移将其绘制成图表。我们发现:
»人工智能的提及是最近出现的现象,仅在2016年第3季度开始。
»2017年底首次提到自动驾驶汽车(AV)。
»到目前为止,AR / VR是我们研究中提到的最多的方面,自2016年第一季度首次提及以来共提到了33次。
»在最近的Q4’17电话中,AR / VR关键字被提及了15次,这使得它成为一个重要的赌注。

▲ 苹果历年财报电话会议关键词
值得注意的是,苹果的AR头戴设备可能即将推出。不同的证据表明,苹果十多年来一直在研究虚拟和增强现实应用。新的启示表明苹果将在2020年之前推出一款独立的AR头戴设备。据报道,这个被称为“T288”的AR项目由Mike Rockwell领导,Mike Rockwell是杜比实验室的一名重要雇员,负责管理数百人的团队。该产品将拥有自己的OS或Reality Operating System,它将成为苹果移动平台的精神继承者。
在2017年6月的WWDC上,苹果公司首次公开,推出了适用于iPhone和iPad应用程序开发人员的工具ARKit,以及开放名为CoreML的机器学习库。在短短几个月内,ARKit开发者发布了热门增强现实应用,可以通过iPhone 6S或更高版本覆盖任何苹果客户。今天,这个数字达到了3.81亿部iPhone设备,但ARKit的覆盖面预计到2020年将增加到8.5亿个。
据报道,热门热播的AR移动应用程序Pokemon Go是App Store历史上第一周下载次数最多的应用程序。据说苹果公司还有1000名以色列ARKit工程师。而且已经有一个不断增长的AR应用程序生态系统,它正在将iPhone变成可以说是体验增强现实的最常用设备。应用程序包括家居零售商,如宜家,允许用户在家中可视化家具,为儿童教育游戏,将拼图投射到他们的卧室墙壁等等。
在2017年初的一次采访中,Cook说他认为AR是苹果的下一件大事:“我认为这是一个像智能手机一样的大创意….我认为AR很大,很大。我很兴奋,因为可以做的事情可以改善很多人的生活。并且很有趣。我认为AR就像我在iPhone上查看硅片一样,它本身不是产品,它是一项核心技术。但是有一些事情要发现,技术对于主流而言已经足够好了。“ 库克还重申“AR将改变一切。”根据苹果公司的Q4’17财报电话,App Store自夸已经有1,000个使用ARKit的应用。但苹果也面临着一些不利因素。硬核的游戏玩家和视觉开发者绝大多数使用非苹果 PC进行图形和VR体验。最终苹果的头戴设备肯定会与谷歌和好莱坞工作室支持的创业公司Magic Leap竞争,后者自2011年以来一直专注于追求AR头戴设备。此外,苹果的专利组合在AR / VR中,虽然规模较大,但与其竞争对手相比却是一般的。微软,谷歌和Facebook在这一领域一直很积极,并且在追求专利方面超过了苹果。最后,Tim Cook经常谈论AR,但大多忽视了VR。 Facebook的Oculus,谷歌Daydream和微软等公司已经启动了开发者社区,并为迅速发展的VR领域制造了耳机和手机,而苹果公司似乎已将其所有芯片放在AR上。

▲ 几大科技公司AR/VR专利数
3、苹果汽车计划已调头转向电池和软件
自动化,电动汽车(和汽车电池)以及汽车共享是汽车未来发展的支柱。苹果已经涉足这三个领域,但在实际制造汽车方面却三缄其口。这是一个相当公开的秘密,苹果正在研究自动驾驶汽车(AV),而苹果研究人员最近发表了一篇基于LiDAR行人和骑自行车者3D检测的论文。但总的来说,该内部被称为“泰坦”项目的细节很少。首席执行官蒂姆库克曾暗中说道,“我们非常关注自主系统。我们确实有一个大型项目正在进行,并正在进行大量投资。从我们的角度来看,自主系统是所有AI项目之母。“苹果几年前通过Macallister Higgins.20自动驾驶汽车的形象为报道的LiDAR部门带来了一些新员工。但是今天,雄心壮志已经缩减为仅仅为自动驾驶汽车开发软件。据《纽约时报》报道,内部分歧和缺乏统一的愿景使该项目脱轨。

▲ 苹果LiDAR汽车项目
虽然值得注意的是,苹果公司肯定会设计汽车项目,但一路走下去,前景不被看好。汽车是一个拥挤的行业(我们已经确定了至少44家AV公司),而像谷歌这样的主要竞争对手自2009年以来就拥有自主原型。通用汽车以10亿美元收购Cruise Automation后,原始设备制造商也看到了这一领域的机会。为了推动未来的汽车工作,苹果聘用了前SVP 硬件Bob Mansfeld作为其新领导者。目前已经取消了推出全新车型的想法,转而专注于CarOS软件和构建自动驾驶系统,但这本身也是一个挑战。
电池技术
苹果公司在汽车领域想要取得更大成功的一个领域是电池技术。随着新时代的到来,汽车越来越像车轮上的iPhone,苹果对电池技术和锂供应链的投资可能会使其在电动汽车市场上占据优势。据报道,该公司已经与CATL合作,CATL是中国最大的汽车电池制造商,可以为Titan项目制造大型锂离子电池。此外,苹果公司对中国乘坐独角兽滴滴出行的投资可能会给该公司带来合作伙伴关系,这可能会在其自动驾驶汽车项目上产生有价值的驾驶员数据。截至今年,该公司还在申请与电池技术相关的专利。事实上,在苹果 2017年专利申请中的20个最重要的短语中,有6个与改进电池技术直接相关。2017年第二个最重要的短语是“活性材料”,它涉及创造紧凑型能量密集电池所涉及的化合物。虽然电池技术可能与智能手机的有关,电池技术可以很好地从较小的设备转换为更大的应用,如家庭和汽车。

▲苹果历年专利关键词
自动驾驶并购趋势
与同行不同,苹果公司没有企业风险投资部门,一般是直接购买公司。最近对滴滴出行投入的10亿美元是几十年来的第一次投资。 2017年,苹果宣布为先进制造业拨出10亿美元资金。该基金的第一笔投资是对公开交易的康宁投资2亿美元,该公司在iPhone上生产大猩猩玻璃。像宝马这样的其他原始设备制造商拥有活跃的合资企业,而苹果没有。依靠内部努力和并购(目前还没有已知的AV交易)是一种多样化的方法,如果计划在汽车上做出成就,苹果将需要转移大量资源。
4、后IPhone时代的穿戴设备
APPLE WATCH
从Apple Watch开始,苹果正在建设一个无iPhone的未来。最重要的是,该公司正在利用其纯正的消费品牌并通过工程设计将个人计算带入更小、更方便、更轻松的用户体验之中。进入可穿戴设备也为苹果提供了新的见解。在苹果的最新收入电话会议上,蒂姆库克表示,整个可穿戴设备业务在第四季度和2017财年同比增长75%,并且“已经产生了财富400强企业的年收入”。最新的Apple Watch 3具有蜂窝接收功能,无需iPhone即可拨打电话。换句话说,Watch已经允许苹果用户只需一块手表就可以离开家,也许可以放入耳机AirPods来听音乐和接听电话,并不觉得他们需要智能手机来度过他们的一天。同时,来自Watch的数据也使斯坦福大学能够进行大规模研究,以汇总用户的心率并识别异常情况。手表不断佩戴的事实将为健康和保健工作提供新的见解。 Stratechery的分析师Ben Thompson写道,设计,互动/用户体验和环保意识将是Watch向前发展的关键:“苹果及其竞争对手在这些因素中实现这些因素的能力将决定该类别是否会成为一个好的方面商业到手机,或者是朝着更小,更方便的个人电脑发展的下一步。”
AIRPODS

▲ Airpods
AirPods无线耳机于2016年底推出,是人机界面的下一个明显接触点。AirPods的早期成功部分来自苹果定制的耳机W1芯片,使其在范围和电池寿命方面具有竞争优势。在一个良性循环中,耳机硬件的成功只会影响苹果 Music品牌,而苹果 Music品牌已迅速占领用户。 AirPods强调了苹果在后智能手机时代设计用于恒定环境,被动使用的产品的雄心。从历史上看,很明显苹果公司如何逐步淘汰iPod等过时技术,转而支持其下一个重大事件。今年售出600万和1300万台的AirPods和苹果 Watch将成为iPhone之后销售量的巨大的产品。 2017年,Watch和AirPods合并销售超过Mac系列产品。

▲苹果各类设备销量
5、Homepod代表了苹果进入智能家居的野心
由于跳票,Homepod于2018年初开始销售,苹果对Alexa式人声计算机的回应将成为Siri及其智能家居工作的试验场。在其同行中,苹果是最后一家主打家用语音电脑,亚马逊的Echo设备和谷歌的家用设备是其主要竞争对手。为了与众不同,苹果强调HomePod的高品质音频作为音乐播放设备。值得注意的是,苹果还提供HomeKit,这是一个智能家居设备的软件平台。 苹果的HomePod可能成为更广泛进军智能家居市场的第一个信号。与智能手表和手机一样,苹果有着悠久但具有变革性的进入者的历史。因此不应排除使用HomePod和潜在辅助设备的成功。更广泛地说,苹果分析师推测,最近完成的Steve Jobs院和苹果公司新的5亿美元库比蒂诺总部是该公司在建筑和家居设计方面迈出的第一步。有人甚至认为,苹果公司的剧院,新总部和零售店本身就是苹果产品。

▲ HomePod
毕竟,苹果公司是一家设计公司,而且它从头开始设计来销售智能家居并不是不可思议的。智能苹果设备可以成为这些家庭技术核心的一部分,设计像Watch这样的苹果产品。虽然这个想法现在只是推测,但未来苹果可以通过收购像Kasita这样的公司快速进入模块化住宅建设,提供与其技术生态系统协调一致的房间。
6、医疗保健可能是苹果下一个大的垂直行业
已故的Steve Jobs的女儿透露,在他的最后几天,Jobs从他的病床上勾勒出一个支持iPad的医院单元的计划,包括流体监测器,X射线设备的想法,以及更好的房间设计蓝图。今天,苹果已经进入医疗领域。随着iPhone足迹接近10亿用户,这个定位非常好。苹果通过苹果 Watch开发了Health应用程序和ftness跟踪功能。然而,通过收购Gliimpse并与Health Gorilla合作,该公司正在慢慢转向提供完整的个人健康记录。苹果公司也越来越关注临床级数据采集,正如其与FDA合作检测心脏异常,进军无创血糖监测以及将iPhone转变为诊断工具的专利所表明的那样。此外,苹果的ResearchKit应用程序允许研究人员使用iPhone进行大规模的研究。苹果公司的领导者一直在谈论该公司参与糖尿病和心脏病管理,这是美国医疗保健领域最大的成本驱动因素之一。为了改善结果,苹果正在利用CareKit及其与Health Gorilla的合作伙伴关系,这是一个临床医生协调患者护理的平台,可以让所有利益相关者在同一页面上获得患者的医疗服务。该公司传闻与American Well的合作以及现有的远程医疗专利表明,苹果也希望参与将患者与护理联系起来。据报道,苹果公司还考虑购买企业诊所创业公司Crossover Health,这将推动其推动实体医疗保健服务的可信度。相对于其他科技巨头,苹果拥有相当大的健康相关专利组合,这可以使其具有优势。

▲ 几大科技巨头医疗相关专利
7、网络安全和生物识别是苹果被忽视的优势
苹果已经悄悄地努力保护其平台。随着公司遭遇高风险的网络安全漏洞,苹果公司保持了令人羡慕的业绩记录。在某种程度上,这可能是因为苹果的操作系统和iOS占全球设备的比例不到13%,但苹果公司也非常重视其“封闭系统”的网络安全,其硬件和软件的端到端控制也有所帮助。该公司的用户以更快的速度更新软件,提高其网络安全,而苹果严格控制的App Store使每个应用程序都经过恶意软件审查。在其他系统上,非标准硬件组件可以具有不同级别的安全性,从而产生更多安全漏洞。此外,自2016年以来,所有苹果的设备都标配了强大的加密功能。(这使得与执法部门的关系变得尴尬,当时苹果表示不可能帮助FBI解密枪手的iCloud数据)。在专利方面,网络安全是苹果公司知识产权组合中最大的一部分,相对于谷歌的活动来说,网络安全规模相当大。

▲几家科技巨头网络安全相关专利
苹果市值破万亿,但从财政角度来说,它从未被看好过
技术的成功是短暂的。苹果的未来取决于另一个平台。麻烦的是,没有人确切知道下一步是什么。苹果公司已经在其人工智能和语音计算等大肆宣传领域脱颖而出,并且在智能家居和云服务等领域占据了一席之地。与此同时,该公司的AR和家用设备和可穿戴设备数量翻了一番。但苹果公司是一家通过投注一次又一次地拒绝传统智慧,批评者和反对者的公司。当许多人说它不可能时,苹果赌在智能手机市场上,最终由“iPod公司”完成证明每个人都错了。它在智能手表和可穿戴设备上的赌注有些晚,但现在也声称占据了早期主导地位。目前,AR与Facebook和马克扎克伯格所倡导的身临其境的VR相当,但苹果仍然在这个舞台上超越了许多其他领域。尽管被特斯拉首席执行官埃隆马斯克公开抨击,但它仍然放弃并重组了其汽车的努力。最后其组织风险呢?另一种自我进化可能需要一种新的设计理念,即包含失败。它可能需要更深层次的吸引力来培养开发者社区,甚至可能需要重组以更好地组织苹果的庞大(有时会聚)产品线。最重要的是,苹果必须保留其革命精神,同时摆脱过去。对于任何公司来说这都是一项艰巨的任务,更不用说世界上最有价值的公司了。但是,随着苹果公司寻找其下一代平台技术,它应该回想起其已故创始人的话:“如果你还没有找到它,请继续努力,不要放弃。
智东西认为,随着苹果公司市值突破万亿美元,新iPhone亮点越来越少,价格越来越贵,苹果公司在后iPhone 时代的道路会变得越来越曲折,我们可以通过公司的一些信息挖掘到一些苹果未来的计划,但是最关键的是,没有灵魂人物乔布斯的时代,苹果能否还能拥有那改变世界的雄心壮志?
下载提醒:如果想收藏本文的报告全文,可以在智东西(公众号:zhidxcom)回复关键词“nc289”获取。
智能内参
权威数据·专业解读 读懂智能行业必看的报告
在智东西回复“智能内参”查看全部报告
