智东西(公众号: zhidxcom)
编 | 智东西内参
从2017年起,CB Insights公司每年都会评选出100家明星AI创业公司,今年也不例外,这些公司为人工智能应用提供硬件和数据基础设备,优化机器学习工作流程,或是在各个主要行业中应用人工智能技术。根据专利申请、投资者概况,新闻报道、市场潜力,合作伙伴关系,竞争格局,团队实力和科技新颖性等指标,CB Insights的研究团队从3000+公司中选出了今年的100家明星初创公司。
本期的智能内参,我们推荐来自CB Insights的报告《2019年度AI创业公司100强》, 详解2019年度人工智能价值链中最有前途的100家创业公司。如果想收藏本文的报告全文(2019年度AI创业公司100强),可以在智东西公众号:(zhidxcom)回复关键词“nc325”获取。

一、处于不同研发阶段的top 100
本年度的AI 100公司正在深刻地变革12个核心行业,包括医疗保健、电信、半导体、政府、零售和金融等。从新兴创业公司到成熟的独角兽,这些公司的融资阶段和产品商业化不尽相同。

▲近三年AI100公司的融资阶段比例
例如,Prowler.io是英国的一家处于A轮投资的公司,专注于扩展增强学习的实际应用。该公司团队至今已有38篇论文被顶级会议接受,包括NeurIPS和the International Conference on Learning Representations.。
总部位于帕洛阿尔托的One Concern去年从New Enterprise Associates筹集了3300万美元的股权,其人工智能平台可帮助政府规划和预测地震和洪水等自然灾害的影响。
其他的一些公司,如SenseTime和Graphcore,估值已超过10美元。并且名单上共有11家公司是独角兽(估值10亿美元以上的私人公司)。

▲AI100中的11家独角兽公司
二、资金最充裕的公司
来自中国的商汤科技(SenseTime)和旷视科技(Face++)是世界资金最充裕的AI公司,他们专注于面部识别技术,拥有来自政府的投资者和客户。排名第三的是总部位于加州的Zymergen,它使用机器学习技术进行新材料研究。该公司的一个重点领域是寻找塑料和石油产品的替代品。

▲资金充裕度top10
三、美国专利申请情况
专利申请是衡量公司研发重点的一个指标。 100家创业公司中共有62家拥有600多项美国专利。
例如,Hover可以让用户使用智能手机相机拍摄自己家的照片,然后使用图像处理技术拼接出家庭的3D照片。在最近提交的一项关于“定向图像捕获”的专利申请中,机器学习算法被用于基于各种特征来评估所捕获图像的质量。

▲定向图像捕获专利
Butterfly Network制造了一种价格不到2千美元的便携手持式超声波设备。该设备硬件中集成了计算机视觉技术以帮助解释图像。下图为“具有集成图像处理功能的便携式电子设备”的专利申请。

▲具有集成图像处理功能的便携式电子设备
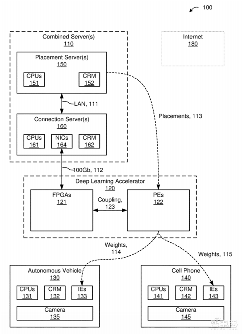
Cerebras公司最近透露了关于其AI处理器的一些细节,并与于2018年提交了3项专利,这些专利显示了其在半导体制造方面的研发和加速深度学习技术。下图为他们的专利“使用深度学习加速器进行神经网络训练和推理”。

▲使用深度学习加速器进行神经网络训练和推理

▲美国专利申请量top10
四、美国以外的创业公司
有20多家公司总部位于美国以外的地区,他们来自中国、加拿大、英国、德国、瑞典、日本、印度和以色列等国家,其中中国、英国和以色列的数量最多,都为6家。

▲美国以外的创业公司
五、活跃的AI投资机构
超过680个独立投资者为这些公司提供了资金,包括企业、风险投资公司和天使投资者。其中Google母公司Alphabet旗下的Google Ventures投资数量最多,达到了12笔。

▲最活跃的AI投资这top10
六、往年回顾
下图为2017和2018年度的top100,可以看出,近三年来自中国的AI创业公司发展迅速。

▲2018AI100

▲2017AI100
智东西认为,科技是第一生产力,科技公司在一定程度上代表了一个国家的真正实力。在以人工智能为代表的新一轮技术革命中,可以清晰的看到中国已经完成了跟随者到强有力竞争者的角色转换,但是,AI人才的缺乏,包括经验丰富的工程师和基础研究人员,可能会阻碍中国AI的发展,现阶段中国需要清醒认识到自己的短板和差距,抓住这新一轮技术革命机会。
下载提醒:如果想收藏本文的报告全文,可以在智东西(公众号:zhidxcom)回复关键词“nc325”获取。
智能内参
权威数据·专业解读 读懂智能行业必看的报告
在智东西回复“智能内参”查看全部报告