智东西(公众号:zhidxcom)
编 | 王颖
智东西3月11日消息,近日,外媒曝光了苹果的一项“共享屏幕”专利,iPhone可以自动连接附近的设备,不使用折叠屏幕也可以实现双屏甚至多屏协作功能。
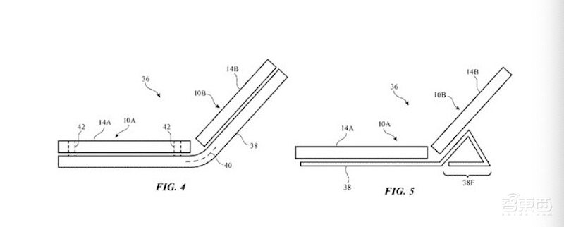
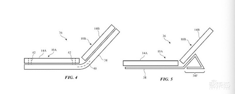
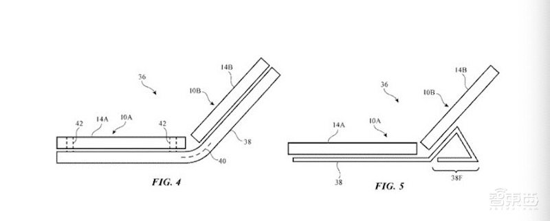
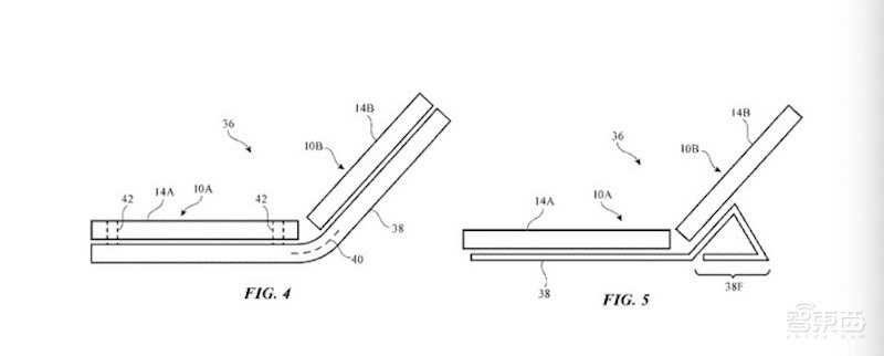
这项专利中提到的技术与微软的Surface Duo类似,苹果希望通过新技术保持可折叠设备的拓展性并解决折叠屏幕产生折痕和开裂的问题。

一、磁性传感器连接,多设备组合达到折叠屏效果
通过苹果公司的描述可以了解到,通过将两个或多个设备放在彼此相邻的位置,它们就可以通过传感器的探测进行配对,并触发协同工作功能。
此项专利还支持多个电子设备在同一个系统中同时使用,当多个电子设备连接时,它们可以检测到不同设备的信息,有序的与前一个设备的边缘相连。
在多个设备连接开启联合操作后,图像可以在多个设备之间延伸,扬声器、摄像头和其他传感器会相互配合使用,各种资源都可以共享。
二、智能外壳可连接多种设备
苹果“共享屏幕”的专利发明家James R. Wilson和David A. Pakula拥有超过120项专利,其中许多与电子设备显示器相关。
专诸如智能手机这类的电子设备通常是单独使用的,但有时一个独立的设备可能无法满足用户的需求。

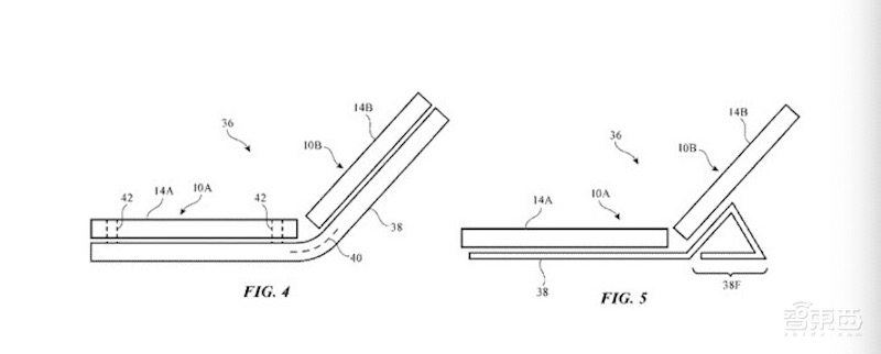
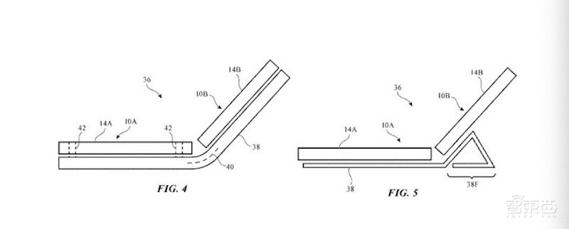
苹果在专利中提到,通过磁性元件可以将不同设备以不同的方式连接在一起,包括两部iPhone的连接或iPhone与iPad的连接。
专利申请文件中还描绘了一个类似iPad保护套的智能外壳,两个设备协同工作时可以起到连接和保护的作用。
原文来自:AppleInsider