智东西(公众号: zhidxcom)
编 | 智东西内参
美国人大约有90%的商店在实体商店购物。 尽管如此,电子商务的兴起正在模糊实体和在线零售之间的界限,一些传统零售商已经成为零售灾难的牺牲品。然而,虽然一些零售商遭受损失,但其他零售商正在利用技术将其实体店转变为战略资产。 为了帮助零售商弥合数字和物理商务之间的差距,数十家初创公司开发了店内技术,从货架库存机器人到增强现实显示器,再到新的支付系统。
本期的智能内参,我们推荐CB-Insights的报告《 影响实体店的新零售 》,以具体例子详解改造实体店的策略,初创公司,企业和新兴技术,为新零售创业者提供参考。如果想收藏本文的报告全文(影响实体店的新零售),可以在智东西公众号:(zhidxcom)回复关键词“nc307”获取。
以下为智能内参整理呈现的干货:
一、改变实体店的新零售创业公司策略盘点
CBInsights使用了自家数据库识别出了110多家颠覆实体的新零售科技创业公司,如下图所示,按发展策略划分,新零售创业公司可以分为:数字显示、AR\VR、访客Wi-Fi、店内分析与营销、店内融资、机器人与聊天机器人、智能收据、多渠道服务、
库存管理、货架监控、平台忠诚度、智能试穿、智能购物车、自动结账、支付技术和不动产。

▲颠覆实体的新零售创业公司
数字显示:这类公司为实体店提供连接的数字标识,在店内部为产品做广告,为购物者提供产品信息,或者让商店实时调整产品价格。例如,珀奇互动提供了通过物联网和计算机视觉技术跟踪店内客户与产品交互的显示器。
AR/VR:初创公司利用增强现实和虚拟现实帮助零售商。包括像InContext Solutions这样的初创公司,它帮助零售商通过虚拟模拟来规划他们的商店。
访客Wi-Fi:这类初创公司为零售商提供免费店内Wi-Fi。这些公司通常使用Wi-Fi追踪购物者,并为商店提供客户分析。例如,Zenreach已从First Round Capital、贝恩资本(Bain Capital Ventures)和8VC等投资者那里筹集了9400万美元。
店内分析与营销:这里的公司提供硬件和软件来帮助商店跟踪访客。许多公司专注于收集数据进行内部分析,如商品跟踪、调整员工水平、监控促销活动等。
资金充足的创业公司RetailNext(1.89亿美元)提供流量传感器、客户路线地图、移动营销等服务。其他公司,如Teemo(1790万美元),则通过移动应用合作关系收集消费者数据。这家初创公司利用这些数据为其零售客户寻找最有价值的客户。
店内融资:初创公司允许顾客在店内购物时立即申请并获得贷款或分期付款计划。Divido(1860万美元)于2018年9月进行了一轮a轮融资,通过在销售点提供即时信贷,让消费者在一段时间内分摊新购商品的成本。
机器人和聊天机器人:这类公司提供机器人技术,帮助零售相关业务。Commonsense Robotics公司制造的机器人,可以在微型物流中心工作(可放置在密集城市地区的小型仓库)操作,以实现更高效的最后一英里交付。
智能收据:这一领域的初创公司通过将收据数字化,为商店里的顾客在结账过程中提供数字附件。flexreceipt为顾客的数字收据增加了个性化的优惠和奖励,目的是吸引回头客。
多渠道服务:这类初创公司将店内和电子商务分析集成在一起,提供更无缝的购物体验。初创公司NewStore为零售商提供了一个平台,让他们可以在所有销售、交付和退货渠道上同步订单。
库存管理:这类企业通常使用基于云的软件,帮助商店跟踪库存并优化供应链运营。一些公司,如Celect也使用人工智能提供预测性的销售分析。
货架监控:这类初创公司帮助零售商和包装消费品品牌监控其商品在货架上的展示,跟踪店内促销和视觉展示的结果。一些依靠店内摄像头和人工智能功能,而另一些则利用来自购物者和店员的众包智能。
忠诚度:该类别包含零售商的奖励和忠诚度平台。Ibotta创建了一个平台,客户可以从合作零售商和品牌那里赚取现金。
智能试穿:这些初创公司生产用于试穿的技术。例如,Mirow为更衣室设计了一款交互式智能镜子。这家初创公司的智能镜子可以让客户收到个性化的推荐、寻求帮助或请求不同大小和颜色的商品。这面镜子连接到一个可供零售商使用的软件平台。
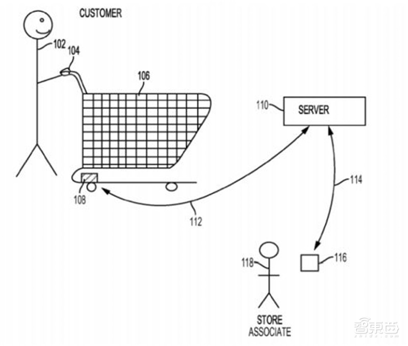
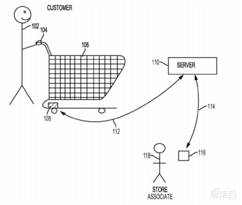
智能购物车:初创公司为购物车配备数字功能。例如,Focal Systems的目标是为现有的购物车配备电脑平板电脑,它可以使用机器视觉在购物车通过商店时监控货架,还可以向购物者显示数字广告。
自动结账:这类初创公司正在为零售商普及自动结账技术。例如,初创公司AiFi计划向传统零售商销售使用摄像机视觉和货架传感器技术的自动结账技术。这家初创公司的目标是将服务范围扩大到各种规模的零售商,从小型便利店到大型杂货店。
支付技术:这一类包括帮助零售商管理和处理支付的平台。初创公司Poynt于2018年11月融资1亿美元,它提供了一个开放的销售点操作系统,可以为任何智能支付终端供电,连接各种其他第三方应用程序,如数字订购系统、礼品卡程序等。
员工工具:各种消息传递工具和计划平台正在帮助零售商店的员工。例如,Branch为零售员工提供内部通信的消息网络。
房地产:这类公司是初创公司的大本营,它们正在寻找新的方式,为零售商利用实体房地产。Spacious 在休息时间提供餐厅和酒吧的共同办公空间。这家初创公司最近与零售业主合作,填补了旧金山和纽约市100家空置的街道店面。
未来,影响实体店的新零售趋势如下图所示,按照类型,新零售可以分为目的地型、物流中心性、数据收集型和本地化型,下面我们将以具体例子来详细介绍这些新零售。

▲新零售趋势
二、不只是购物,目的地型新零售
目的地型零售先驱者仍在吸引着消费者。以下以苹果公司和Build-A-Bear 公司为例子。
苹果公司于2017年5月推出了Today At Apple计划,该计划在全球各地的Apple Store提供互动课程,包括音乐实验室,儿童时间和编程。

▲苹果建立的店内互动课程
Build-A-Bear 公司今年夏天的Pay-Your-Age活动吸引了众多购物者,由于过度拥挤,该活动不得不在全国范围内关闭。

▲ Build-A-Bear 公司活动现场
而其他一些零售商抓住了“社区”的商机。
Nordstrom和丝芙兰的目标是成为邻里社区的购物目的地。
Nordstrom Local没有产品库存,而是提供剪裁和更改,在线订单取件,预约个人造型师服务和在线退货。 Nordstrom在2018年秋季在洛杉矶开设了另外两家店。

▲Nordstrom商店
丝芙兰的Sephora Studio为顾客提供美容课程,礼宾服务和面部护理。这些商店采用了交互式技术,例如虚拟艺术家工具,允许客户虚拟尝试新化妆品。

▲丝芙兰Sephora Studio
梅西百货通过并购达到目的地型零售。
梅西百货于2018年5月收购了创业公司概念商店Story。在纽约市的办公地点,Story每月都会通过新设计,产品分类和互动商店体验改造其商店。每次转变都体现了一个新主题。

▲Story商店
Athleisure将实体店重新打造为健康目的地。
Lululemon将建造一个永久性的瑜伽工作室——位于纽约市的SoHo。

▲Lululemon瑜伽工作室
Bandier最近在曼哈顿的旗舰店推出了专门的健身中心Studio B,为顾客提供免费课程。

▲健身中心Studio B
Outdoor Voices在纽约,旧金山,波士顿,奥斯汀等地的实体店举办瑜伽和健身活动。

▲ Outdoor Voices 实体店
杂货店作为就餐目的地?
Albertsons在岩石区他们的旗舰百老汇酒吧,在2018年7月为超过200人提供36种啤酒。

▲ Albertsons 酒吧
Oliver在索诺玛的奥利弗市开设了小酒馆。小酒馆供应精酿啤酒,美食和一系列月度活动以吸引顾客。
一些创业公司将共享办公和零售结合了起来。比如说,Re:Store将为旧金山的多达60个在线品牌提供共享店面和共用空间。他拿到了170万美元的融资。

▲RE:STORE
拿到1千万美元融资的Spacious计划与零售业主合作,在纽约市和旧金山填补100个空置的街道店面和联合办公空间。

▲Spacious
床垫创业公司Casper于2018年2月在纽约开设了第一家店铺,宣布计划在未来三年内开设200家店铺。Casper的第一家商店提供互动活动,突出了Casper的产品,包括卧室,消费者可以在床上测试床垫。

▲Casper
接下来我们盘点使零售商能够尝试新的实体店模式的创业公司。
Appear Here 将寻找短期弹出式零售空间的品牌与愿意提供短期租赁的业主联系起来,以融资金额为一千九百万美元。

▲Appear Here
从thisopenspace分离出来的创业公司 Uppercase ,正在帮助数字品牌开放和设计他们的店面空间。

▲Uppercase
三、物流中心型新零售
零售商正在改变他们的供应链,以利用实体店作为电子商务的物流中心。

▲物流中心型新零售
零售商通过技术加速店内在线订单。比如说,Zara集成了一个库存管理系统,该系统在25个市场的商店中使用RFID服装跟踪技术,以支持当天的在线购买交付。

▲Zara库存管理
Brooks Brothers正在利用其260个北美零售点来加速在线订单交付。该零售商正在通过合作伙伴Manhattan Associates利用软件来优化店内交付。

▲Brooks Brothers
Target可减少商店库存,为线上物流腾出空间。通过其新的“流动中心”计划,Target现在正在测试从新泽西州工厂到其商店的更快的库存补货周期。这减少了整体商店库存,但也允许其商店(特别是小型商店)为在线订单交付提供更多空间。

▲Target
店内提货消除了最后一英里交货的负担。

▲各家店内提货方案
现在,通过软件和机器人帮助零售商管理库存和管理在线订单交付的供应链初创公司正在获得动力。

▲供应链初创公司
帮助实体店管理库存的创业公司。
Nextail使用AI帮助快速时尚零售商改进和衡量各种产品的供需,改善库存分配和店内运营。 Nextail的客户包括零售商Pepe Jeans,Stefanel和Melon Fashion Group。Nextail拿到了1100万美元融资。

▲Nextail
Relex Solutions为零售商提供库存计划软件,帮助最大限度地减少库存并最大限度地提高物流和在线零售的销售额该平台帮助零售商管理不同形式的电子商务交付,以确保库存中始终有流行的商品。Relex Solutions的融资额度为2300万美元。
缩小的仓库能否与不断缩小的商店相结合?当然可以。
Commonsense Robotics使用紧凑型机器人作为在城市地区附近的微权中心完成在线食品订单的一种方式,他们的融资额为1100万美元。

▲Commonsense Robotics
Takeoff Technologies创建了技术注入的微物流中心,可以在一小时内与零售商合作进行在线提货。Takeoff 于2018年10月与Sedano的超市合作,先拥有融资2300万美元。

▲Takeoff Technologies
Happy Returns为在线零售商提供为其客户提供现场退货的选择。该创业公司与零售商合作,为各种在线品牌提供“回程栏”。合作伙伴零售商可从其商店的额外客流量中受益。

▲Happy Returns
四、实体店内自动化驱动数据收集
现在,实体店内的新技术可以收集顾客喜好,产品质量和实体店的组织方式等数据。其中亚马逊Go凭借其先进的技术走到了最前列。
亚马逊Go致力于扩大到3000个店面,如果真能做到,将拥有一个难以想象的数据库。
其他零售商能否利用无收银员技术来获取数据?答案当然是肯定的。
AiFi旨在部署无收银员技术,旨在扩展大型实体店。该公司目前正在与零售商一起试用其技术。

▲AiFi
Standard Cognition为零售商提供人工智能技术,自动化结账流程。它于2018年9月在旧金山开设了第一家商店。

▲Standard Cognition
Zippin旨在通过相机和货架传感器为零售商提供无收银技术。它于2018年8月在旧金山开设了一家原型商店。

▲Zippin
其他公司方面,丝芙兰使用店内美容技术收集数据。

▲丝芙兰美容技术收集数据
在中国,一些公司也在利用人脸识别技术收集数据,包括旷视和商汤。

▲旷视和商汤公司
阿里巴巴与中国创业公司Face ++合作 推出基于面部识别的付款方式。阿里巴巴目前正在特定肯德基地区试行付费技术,并可将其扩展到零售业。

▲阿里巴巴面部识别付款
总部位于新加坡的Trax提供CPG产品的店内视觉监控,可以帮助零售商优化产品布局和营销决策。它于2018年1月收购了零售情报创业公司Quri,去年收购了Nielsen的 Observation 部门。

▲ Trax
五、本地化的零售商
什么是本地化?本地化就是定制化的库存,店内服务和产品,以迎合当地消费者的品味和偏好。本地化有很多种形式,包括店内库存本地化、店内服务本地化和产品本地化。
具体我们仍然举例说明。
Target基于社区研究对库存进行本地化。自2012年以来,Target百货在美国开设了数十家门店,以扩大其城市小型商店的规模。每家门店通过基于社区的研究,根据周围人群定制其店内库存。

▲Target在高校附近的门店
接下来,我们看Amazon、Nike和Kohl的基于数据的本地化库存。
Melrose的Nike根据周边地区消费者的在线购买数据,在货架上储存了大量商品库存。

▲Melrose的Nike店
亚马逊的新亚马逊四星级商店在亚马逊网站上销售纽约客户评价很高的商品。

▲新亚马逊四星级商店
Kohl’s通过分析客户购买数据,在其商店中对95%的库存进行了本地化,以吸引当地消费者。

▲Kohl’s
2017年,阿迪达斯推出了新款AM4(“阿迪达斯专用”系列)城市专用跑鞋系列。这款鞋子可根据世界各地城市跑步者的特殊需求进行定制(即纽约市街道网格急转弯)。

▲阿迪达斯AM4
六、未来其他趋势
沃尔玛正在探索生物识别跟踪。通过新专利,沃尔玛旨在使用生物识别购物手柄来跟踪客户的心率,温度和压力水平。

▲沃尔玛生物识别专利
InContext Solutions通过创建跟踪购物者偏好,操作甚至预测眼动以优化商店布局和组织的虚拟模拟,帮助零售商规划实体店。

▲InContext Solutions
亚马逊的新专利显示了其计划建立城市无人机物流,该专利说明了一个多层次的实现中心,可以容纳入站和出站交付无人机。该设施主要着眼于在人口密集的城市地区加强最后一英里的交付。

▲亚马逊新专利
智东西认为,随着新零售的发展,实体店会越来越倾向于目的地型、物流中心性、数据收集型和本地化型这几个大类型中的某一种。新零售形势下,电商们纷纷布局实体店。在自己的主场竞争,拥有天时地利人和,线下实体店的胜算要大得多。所以说,新零售是线下实体店的春天,而不是末日。新零售的最大可能,是互联网巨头们提供工具,为中小微企业赋能。而小微企业则利用互联网和大数据的工具,重塑供应关系、客户关系和零售场景,进而完成进化和升级。
下载提醒:如果想收藏本文的报告全文,可以在智东西(公众号:zhidxcom)回复关键词“nc307”获取。
智能内参
权威数据·专业解读 读懂智能行业必看的报告
在智东西回复“智能内参”查看全部报告