智东西(公众号:zhidxcom)
文 | 心缘
距离1978年清华电子系前身无线电电子学系从绵阳分校班师回京,已经过去41年。
从那段遥远的岁月一路走来,清华大学陪伴着中国集成电路事业从零起步,在风霜雪雨中孕育出一代又一代新的半导体人才。有的深钻科研,潜心学术;有的走进产业,用所学改变世界。
当时代更迭,转眼间人工智能(AI)已然风起云涌,我们看到在接踵而至的AI芯片创业大潮中,清华学子正扮演着勇立潮头的角色。
如果将清华大学的学科铺开来看,电子工程系、微电子与纳电子学系、自动化系、精密仪器系、计算机科学与技术系、电机工程与应用电子技术系、物理系等都与半导体行业有千丝万缕的关系。
2018年到2019年,五家年轻的芯片创企从清华大学不同院系的前沿芯片研究团队中孵化而出,从学术高塔走向落地赋能。这些研究或者主攻当前AI芯片领域固有的瓶颈,或者将目标投向更遥远的人工通用智能的未来。
在此之前,超过十家AI芯片初创公司的创始人都是从清华园走出。他们分别面向云边端、视觉/语音处理等不同的应用领域,为日益迫切的AI底层算力需求提供更多的选择。
而他们所做的一切努力和创新,将推动人工智能和半导体领域迈向新的阶段。
一、从清华团队孵化出的五家芯片创企
过去一年间,一家CPU安全防控创企和四家AI芯片创企从清华不同院系的研究团队中脱胎而出。
硬件安全防控、稀疏量化协同、新型阻变存储器、可重构计算芯片、类脑计算芯片……他们所专攻的均属国际学术的前沿领域,同时又兼具实用价值,为方兴未艾的AI产业注入了新鲜的血液。
1、玄甲微电子:CPU高度安全防控
玄甲微电子是其中最年轻的创企,今年7月在北京成立,董事长张威龙是清华微纳电子系博士生,师从刘雷波。
这家创企的技术源头是清华大学微电子所魏少军、刘雷波教授团队,早在12年前,该团队就意识到硬件技术漏洞会带给CPU芯片的严重安全威胁。
经过多年科研攻关,他们提出了基于高安全、高灵活可重构计算架构的“CPU硬件安全动态检测管控技术”,去年11月,这一技术入选当届世界互联网大会15项全球领先科技成果。
此外,魏少军、刘雷波团队和中国电子旗下的澜起科技已将这一技术用于新型X86架构CPU的研发,并于2018年7月研制成功了津逮高性能服务器CPU芯片,据称是全球第一款用第三方的硅模块来动态监控处理器内核硬件安全状况的商用CPU芯片。
联想、长城电脑、新华三等公司已完成了基于津逮CPU芯片的高性能商用服务器的研制,并将上市销售。

2、湃方科技:高能效推理核心Sticker系列
湃方科技正式成立于2018年9月,创始团队来自清华大学电子工程系刘勇攀教授团队,其CEO兼芯片团队负责人武通达是清华电子工程系的本硕博“三清”毕业生,另外两位联合创始人,总裁马君与COO李金阳也均毕业于清华大学。
去年11月,湃方科技获得天使轮融资,由百度风投领投,经纬中国、晨源鸿策、华控基石等跟投。
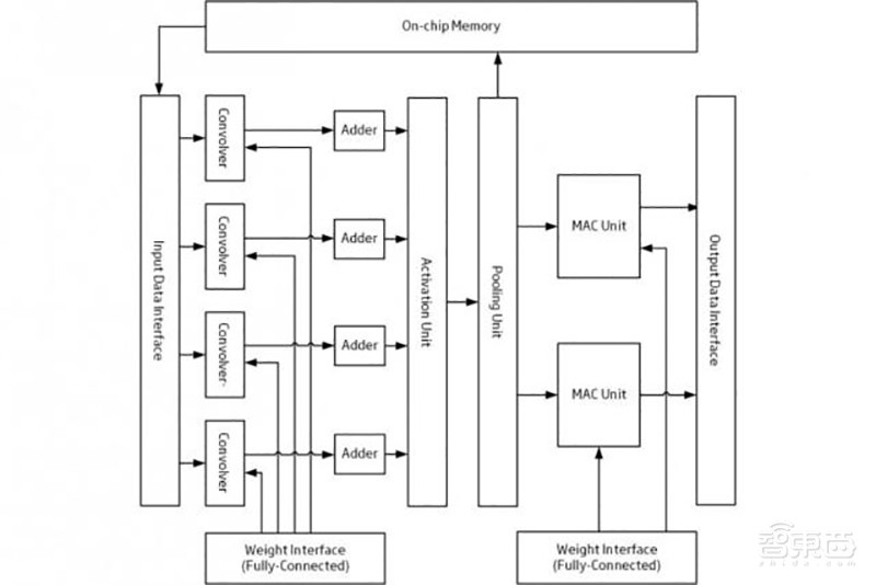
近年来,刘勇攀教授团队致力于实现能同时高效处理各种稀疏度人工神经网络矩阵的统一架构,提出高能效推理核心Sticker系列,并遵循“多比特量化-非结构化稀疏-结构化稀疏-稀疏量化协同”的技术路线,先后打造了7款Sticker相关的不同计算架构,以实现不同指标。
2019年1月,Sticker-T入选了IEEE ISSCC(国际固态电路会议),这是中国大陆首篇发表的AI芯片ISSCC论文。
ISSCC是集成电路设计领域最高级别的学术会议,素有“集成电路领域的奥林匹克”之称。
今年10月,湃方科技首次发布人工智能(AI)芯片产品阵列,包括Sticker系列AI芯片IP核、面向视觉应用的首款超低功耗嵌入式AI协处理器Tritium 103、工业视觉边缘计算平台Reactor。
据悉,Sticker系列AI芯片能效最高达140.3 TOPS/W,功耗低于40mW,已在中石油、中石化、山东双轮等行业龙头企业进行了应用。

3、新忆科技:新型阻变存储器RRAM
新忆科技于2018年6月成立,主营新型阻变存储器(RRAM)及其周边产品,其原始技术和创始团队均来自清华大学新型存储器团队,清华大学微纳电子系钱鹤、吴华强教授均在股东之列。
2018年11月,新忆科技获得天使轮融资,由清华控股、启迪之星等投资,交易金额未披露。
今年4月,清华微纳电子系钱鹤、吴华强教授团队在第66届国际固态电路会议(ISSCC 2019)上,报道了国际首个基于阻变存储器(RRAM)的物理不可克隆函数(PUF)芯片设计,已通过美国国家标准与技术研究院的随机测试。
随着智能硬件的普及,近年PUF已经成为一种新的硬件安全防护手段,可充当唯一性识别芯片的硬件“指纹”。然而,传统集成电路PUF因工艺偏差,通常存在随机性不足、输出不可重构两个缺点。
对此,该团队研发的芯片“XUANWU”,取自具有超凡防御能力的中国古代四大神兽之一“玄武”。此芯片借助新型存储器RRAM,采用差分阻值的方法,实现了原始位误码率低于<6×10-6,在可靠性、均匀性上相对于之前工作都有明显提升,且具有独特的可重构能力,能够实现高效硬件安全防护。

4、清微智能:软件定义芯片
清微智能成立于2018年7月,去年拿到百度战投领投的近亿元天使轮融资,其技术脱胎自清华大学微纳电子系可重构计算团队Thinker团队。
过去十几年间,现任清华大学微电子研究所所长、中国半导体行业协会IC设计分会理事长魏少军教授一直深耕于可重构计算芯片技术,他将此称之为“软件定义芯片”。
自2016年起,基于可重构计算架构,魏少军教授团队中的清华大学微纳电子系副系主任尹首一副教授带队设计研发了Thinker系列低功耗终端AI芯片,包括实验性质的验证芯片Thinker I、人脸识别芯片Thinker II、语音识别芯片Thinker S、语音识别芯片Thinker IM等,在学界和产业界均得到广泛关注。
今年6月,清微智能首款可重构超低功耗语音AI芯片TX210已实现百万数量级的规模化量产;同年9月,该创企推出首款多模态智能计算芯片TX510,同时支持视觉、语音等多模态智能处理,据称能效比比CPU高1000倍,比FPGA高100倍,比GPU高10倍。

5、灵汐科技:异构融合类脑计算芯片
今年8月1日,全球首款面向人工通用智能的异构融合类脑计算芯片登上《Nature》杂志封面,这项研究创造了中国在芯片和人工智能两大领域《Nature》论文零的突破。
这一研究成果来自清华大学精密仪器系施路平教授团队,2018年1月创立的灵汐科技即是从这一研究团队脱胎而出。
目前发展人工通用智能主要有基于计算机和基于神经科学两个主要方向,两个方向的结合被公认为最佳解决方案之一,施路平教授团队所致力于研发的即是支持这种融合计算的基础平台硬件。
其团队借鉴脑科学的原理,提出异构融合的天机类脑计算芯片架构,可同时支持人工神经网络和脉冲神经网络,高速度、高性能、低功耗的特点。
2017年第二代“天机芯”问世,经过不断改进设计,相比于当前世界先进的IBM的TrueNorth芯片,第二代“天机芯”功能更全、灵活性和扩展性更好,密度提升20%,速度提高至少10倍,带宽提高至少100倍。
目前灵汐科技对外提供峰值算力50 TFLOPS的28nm工艺类脑芯片,以及单卡峰值算力达100 TFLOPS的PCIe计算卡,并配以支持Caffe等主流DNN框架和SNN等类脑神经网络的提案及芯片软件工具链。

二、从清华走出的AI芯片创业邦
如果我们再往前回溯,2014年到2018年,伴随着人工智能和物联网的兴起,一批清华学子决定与这个新的信息时代碰撞出火花来。他们之中,既有已经在半导体产业摸爬滚打二三十年的行业老兵,也有一毕业就开始将技术转化为落地项目的产业新秀。
他们分布在各个细分领域,却都在低调而踏实地用技术为这个AI时代带来些许不同。
1、燧原科技:云端AI训练芯片
燧原科技创始人兼CEO赵立东拥有清华大学电子工程学士学位和美国犹他州立大学电子与计算机硕士学位,曾于2007年至2014年在AMD工作,负责CPU/GPU/APU及多个相关核心IP的研发,随后在2014年12月加入紫光通信科技集团任副总裁,2017年3月任紫光集团副总裁。
2018年3月,赵立东成立燧原科技。燧原分别在2018年7月和2019年5月完成超3亿人民币的融资,前者由腾讯战略领投,后者由红点领投。
就在这个月,燧原科技推出首款云端AI训练芯片邃思DTU、加速卡云燧T10及计算及编程平台驭算。
云燧T10单卡单精度算力达到20TFLOPS,半精度及混合精度(BF16/FP16)算力达80TFLOPS,在ResNet-50模型上每秒处理帧数为518fps,单位能耗下性能比达2.3fps/W,燧原科技能在短短一年半间打造出如此高性能的芯片,这在全球云端AI芯片业界来看也实属难得。

▲燧原首款云端训练芯片邃思
2、登临科技:云端GPGPU
登临科技创始人兼CEO李建文本科就读于清华大学微电子专业,1990年在清华无线电系无线电系线路教研组获得硕士学位,曾在GPU领域已有二三十年的从业经历。
2017年11月,李建文在上海成立登临科技,由知名风投“北极光”创投孵化,分别在2017年底和2018年上半年完成天使轮和Pre-A轮融资,融资金额共计约1.5亿人民币。
登临科技聚焦于研发兼顾通用性和高效率的创新GPGPU架构。据介绍,相比NVIDIA Tesla V100和Tesla T4,登临科技的产品在更低成本的成熟工艺和缩小芯片50%以上面积的基础上,将性能提高5-10倍。

3、探境科技 :图像/语音存储优先架构芯片
探境科技创始人兼CEO鲁勇本硕博均毕业于清华大学,是一位在半导体行业摸爬滚打20年的行业老兵,曾在通信和存储解决方案商、半导体巨头Marvell同时管理中美两地的研发团队。
探境科技成立于2017年上半年,去年完成上亿元A轮融资,向语音和图像领域提供AI芯片及高度集成的全栈式解决方案。
今年9月,探境科技推出首款通用语音AI芯片音旋风611,采用自研存储优先架构(SFA),解决存储墙问题,28nm条件下系统能效比超过4 TOPS/W,支持200条命令词,对神经网络参数、数据类型均无限制,并且已经量产供货。
另外探境科技基于SFA架构的图像芯片也已流片成功,据称具有超高能效比,PPA为业界领先水平,很快也将面世。

4、OURS:基于RISC-V的可编程终端AI芯片
OURS联合创始人兼CEO谭章熹本科毕业于清华大学电子工程系,后在加州大学伯克利分校读计算机科学博士,师从图灵奖得主、RISC-V开源指令集架构的开创者David Patterson。
2017年2月,谭章熹与校友林森在硅谷共同创立OURS,主攻硅光技术光相控阵、FMCW LiDAR和基于RISC-V架构的低功耗AI处理器。
林森是清华大学微电子学学士、加州大学伯克利分校电子工程博士,主修硅光和混合信号设计专业。
OURS在深圳落地中资RISC-V技术公司睿思芯科,已推出旗下首款基于RISC-V的64位可编程终端AI芯片Pygmy,对比Arm同级别芯片,可将能耗降低85%,面积减少80%,能应用于各种终端AI推理场景。

5、黑芝麻智能:车规级自动驾驶芯片
黑芝麻智能联合创始人兼CEO单记章本科就读于清华大学无线电电子学系微电子专业,1997年微电子系硕士毕业后,赴美加入知名图像芯片公司豪威(OmniVision)20年。
2016年,看见AI视觉的风口,单记章与相识已久的老友刘卫红一拍即合,共同创办黑芝麻智能,单记章任CEO,刘卫红任COO,刘卫红也是清华硕士。
黑芝麻智能曾于2016年11月获得北极光创投的A轮融资,2018年1月宣布完成由蔚来资本领投的近亿元人民币的A+轮战略融资,2019年4月公告完成由完成,由君海创芯领投的近亿美元B轮融资。
今年8月,该公司发布华山系列车规级自动驾驶芯片A500,单个SoC可提供5-10 TOPS算力,能效比超4 TOPS/W,可支持L2/L2.5级自动驾驶系统。

6、深鉴科技–赛灵思:基于FPGA的AI落地
深鉴科技联合创始人、前CEO姚颂为2011级清华大学电子工程系本科毕业生,与另外三位拥有清华电子工程系背景的汪玉、韩松、姚颂、单羿共同创办深鉴科技。
深鉴科技成立于2016年3月,专注于基于FPGA实现AI落地,成立刚满一年估值已超过10亿人民币;成立一年半就推出8款AI芯片,包括2款自研AI芯片“听涛”、“观海”;成立不到两年就手握数千万订单。
去年7月,深鉴科技宣布被FPGA开山鼻祖、全球FPGA龙头赛灵思收购,收购后的深鉴科技仍在北京运营,并入赛灵思大中华区中。目前姚颂担任赛灵思人工智能业务高级总监。

7、地平线:边缘AI芯片与自动驾驶芯片
地平线联合创始人、前地平线软件副总裁杨铭本科毕业于清华大学工程系,在清华取得硕士学位后,2004年赴美国西北大学攻读博士学位。
2015年,他回国加入地平线公司,同地平线联合创始人兼CEO余凯一起创业。
后来杨铭加盟了芯翌智能,而地平线一路成长,已成长为全球估值最高的AI芯片独角兽,今年3月宣布完成6亿美元B轮融资,估值达30亿美元。
就在前三个月,地平线先后推出首款已量产车规级边缘AI视觉芯片征程2.0,和第二代边缘AI芯片旭日2.0以及一站式全场景边缘AI芯片解决方案,芯片等效算力均达到4 TOPS,典型功耗仅2W。

8、欣博电子 :SVAC 2.0 AI视频编码芯片
欣博电子创始人兼CEO梁敏学本科毕业于清华大学,研究生毕业于中科院微电子所,曾创办手机专用多媒体芯片公司芯博媒体,后至联发科工作六年,负责多媒体、VR、AI等项目。
2015年,梁敏学得知国家正在着手定制专门用于安防监控的数字视音频编解码技术标准SVAC 2.0,毅然离开联发科创办欣博电子,并参与了SVAC 2.0技术标准编制工作。
去年,欣博电子推出首款采用ASIC方法设计的超低功耗SVAC 2.0 AI视频编码芯片SC6235,可将功耗控制在不超过0.5W。
此外在今年7月,欣博助力百度研发的低功耗车规级远场语音交互芯片百度“鸿鹄”宣布成功量产。

9、泓观科技:超低功耗异步AI芯片
泓观科技同样成立于2015年,由三位清华校友联合创办。其中董事长兼总裁贾泽毕业于清华微电子所,是国家级“863计划”课题主持人、IEEE高级会员。
去年,泓观科技推出面向物联网边缘端的超低功耗异步AI芯片,通过全异构加速技术,力图最大限度发挥系统芯片内各架构及电路的功效潜力。
其芯片聚焦智能化视觉处理,可应用于可穿戴设备、智能家居、自供能监控等对超低功耗有刚需的物联网领域。

三、软硬协同、多系合作成大势所趋
不同于传统通用芯片,AI芯片需要芯片与AI算法的整合。仅靠硬件无法将性能发挥到极致,需要在对应用有所理解的基础上,将硬件与算法做高效的协同。
有了具体的自研创新芯片还不够,将智能程序编译到芯片的编译器等基础工具、用于快速设计出新智能芯片的设计方法学等都需要持续投入研究。
这意味着AI芯片的研究需要多学科融合。以天机芯为例,它虽说由精密仪器系主创,但这一成果也离不开计算机系、自动化系、微电子系、电子系、材料学、医学院等其他院系的支持。
造出能用的天机芯之后,还要让它好用,既要尽可能简化建模和编译过程,又要有完整的平台或方案来方便部署。
对此,清华类脑计算中心基于天机芯片,自主研发出第一代类脑计算软件工具链,可支持从深度学习框架到“天机芯”的自动映射和编译。他们利用类脑自动行驶自行车建立一个异构可扩展人工通用智能开发演示平台,用一块天机芯片展示了自行车的自平衡、目标探测跟踪、自动避障、语音理解控制、自主决策等功能。

同时,半导体器件、材料、制造设备、封测技术等都会对AI芯片的发展产生着不容忽视的影响。而在这些领域,来自清华不同院系的研究团队们同样在付诸努力。
比如在半导体器件研究领域,随着摩尔定律向10nm、7nm以及更先进的技术节点迈进,AI算法硬件化成为探索新型微纳电子器件研究的重要方向,即从底层探索新型仿生器件以实现低功耗。
清华微纳电子系吴华强副教授长期着力于基于新型忆阻器件的类脑计算研究,从器件、电路架构和算法出发,面向类脑计算进行联合优化设计。
清华微纳电子系任天令教授团队在近年致力于基于面向AI应用的二维材料基础研究与应用探索,以期突破传统器件的局限性,为新一代微纳电子器件技术奠定基础。
他们在基于二维材料的新型微纳电子器件方面获得了多项重要创新成果,如智能石墨烯人工喉、石墨烯仿生突触器件等,相关成果发表在《自然·通讯》、《先进材料》等知名学术期刊上。

结语
创新之路或许初有成果,但创业之路依然征途漫漫。能在科技进步的长征中走到最后的,不仅要具备精准的观察力与眼界,时时感受技术和产业变化,审视自我以微调方向,还要能沉下心,一步一个脚印稳步地走向自己所坚信的最终目标。
在这些清华AI芯片创业者身上,我们能看到清华一脉相承的低调务实作风和创新创造精神,但创业毕竟不是拼理想和创意的场合,它们要迎接的终极考题是如何实现大规模量产、如何在市场表现上打出胜利一仗。