智东西(公众号:zhidxcom)
编译 | 杨畅
编辑 | Panken
智东西7月30日消息,据外媒报道,当地时间7月27日,美国专利商标局公开了苹果申请的一项屏下摄像头(或称屏下前摄)相关专利。
该专利描述了一种穿过设备屏幕成像的系统和方法,将图像传感器嵌入屏幕中,以更好地优化设备屏幕的边框等设备外观,以及更好地实现Face ID、Touch ID这两种形式的生物认证功能。

该专利名为《用于透显成像的电子设备显示器(Electronic device display for through-display imaging)》。
专利地址:
https://pdfpiw.uspto.gov/.piw?PageNum=0&docid=11073712
一、原有屏幕和图像传感器设计限制iPhone外观升级
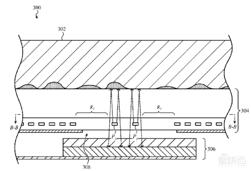
这项专利中写道,目前的iPhone设计是把图像传感器放在屏幕旁边,而不是屏幕的一部分,凹槽(notch)设计确实给人一种图像传感器是屏幕一部分的感觉。
通常,图像传感器位于屏幕保护盖(protective cover)下方,靠近屏幕显示堆栈(display stack)。
同时包含显示堆栈和图像传感器的电子设备通常需要扩大显示堆栈外围的保护盖的面积,以预留空间容纳图像传感器。这种传统结构增加了屏幕边框区域的表面尺寸、电子设备外壳的尺寸和体积。
该专利的主要目的是在显示屏上嵌入一个图像传感器,可实现苹果的Touch ID功能。虽然该专利更侧重于帮助智能设备Touch ID功能实现,但是也可以让智能设备更好实现Face ID功能。
苹果利用这项专利设计电子设备,可以实现任何成像、传感、数据聚合或光捕获目的的透显成像。
二、屏下前摄助力iPhone更好实现Touch ID功能
专利报告中指出,图像传感器中的光学成像阵列位于屏幕后方,从屏幕发出光的相反方向接收通过屏幕传输的光线。
屏幕上有通过不透明衬底确定的成像孔径。光学成像阵列与孔径对齐。在孔径上方,设备通过配置和不配置显示屏来增加光学透射率。

与屏幕的其他区域相比,成像孔径上方或相邻的显示区域可以以较低的像素密度形成,从而增加像素间距离,并增加光通过该区域,然后到达光学成像阵列的面积。
一个屏幕可以与多个分散的光学成像阵列相关联,这些阵列分布在屏幕后面的不同区域。智能设备可以根据不同目的或以不同方式配置光学成像阵列。
苹果在专利报告中分别还给出了使用这种专利的iPhone和MacBook示例。

结语:多家厂商发力屏下前摄技术
不止苹果在研究屏下前摄技术,三星、中兴、小米、OPPO等手机厂商也在攻克这项技术,因为屏下前摄技术被认为是实现全面屏很好的解决方案。苹果新专利的公开,可能会给屏下前摄研究带来独特的解决方案。
从目前的已经上市或者正在研发的配备类似技术的智能设备情况来看,屏下前摄还是会影响屏幕显示和摄像效果,可能不会那么快普及起来。
来源:United States Patent and Trademark Office、9to5Mac、EconoTimes