智东西(公众号:zhidxcom)
编 | 翰阳
智东西早报
第214期 2015.12.4 周五
VR/AR
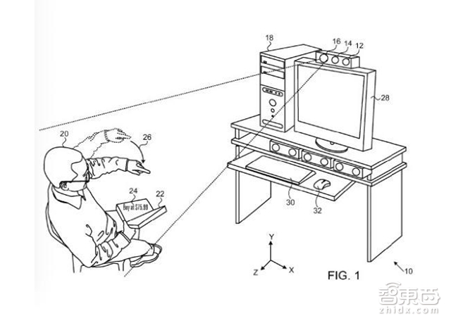
1. 苹果AR投影专利曝光:图像直接投在房间。
苹果一项名为“自适应投影仪”的专利申请日前再到了曝光。从描述中可以看出,这是对于增强现实技术的一种独特应用,可将数字图像直接投射到现实世界当中,而不是像微软或谷歌等竞争对手的产品那样把图像显示在用户眼前。
为了实现这一点,苹果用到了一个可扫描房间以创建3D地图、以及追踪用户眼球运动的摄像头。有了这些信息,这套系统就能决定在哪些地方投射图像。
根据专利图示的介绍,这种投影仪可作为头戴式设备或者独立装置工作,甚至可在用户读书时提供和电子书类似的高亮功能。
2. HoloLens成功串流Xbox One游戏。
本周,微软HoloLens项目经理Varun Mani成功将Xbox One上的《光环5》游戏串流到HoloLens上。尽管看起来质量不怎么样,但是却反映了在虚拟屏幕上展示一个类似2015第一人称射击游戏这样复杂的应用是什么样子。
正如过去提到的,HoloLens原型机的视场角极其有限,虚拟图像只能在用户眼前的一小块矩形空间内展示。目前还不清楚Mani及其他#MadeWithHoloLens参与者拍摄看似全视场画面的过程,也不清楚微软员工用什么相机和技术才能拍摄出这些画面。该公司强调在展示这些演示demo期间,必须要用昂贵的大型摄像装备才能展示出HoloLens佩戴者看到的画面。
3. 2019年医疗服务虚拟现实市场复合增长率可达19.37%。
研究机构RnR Market Research最近发布了一份虚拟现实医疗服务市场研究报告,报告指出在2014-2019年期间全球医疗服务的虚拟现实市场的复合增长率达到了19.37%。
虚拟现实是一种能让用户和一个三维电脑模拟环境进行交互的技术。虚拟现实中使用的主要设备类型是视觉设备,使用一个电脑屏幕或是特殊的立体显示器;
不过也有一些设备如头戴式显示器为整个体验提供音效。它被广泛地运用到医疗,游戏设备,公共娱乐,原型创作和军事演习等多个领域。
新进展
1. Star VC与蚂蚁金服达成战略合作,开拓年轻人市场。
日前,Star VC和蚂蚁金服联合宣布,双方将在2016年联合启动AS计划(Ant Financial+Star VC),通过蚂蚁金服商学院这个教育平台和Star VC一起共创运营。2016年,双方将合力开拓年轻人成长的市场,目前计划的合作“阵地”主要为大学校园。
Star VC合伙人任泉表示,自2014年7月成立以来,一年多来,Star VC已经投资了包括秒拍、韩都衣舍、坚果电影院、财加、明星衣橱、融360等公司或APP,其中“财加”已经于今年10月登陆香港主板。
2. 高德与长安吉利达成战略合作,产品将入驻多款车型。
昨日,高德宣布,已经与汽车企业长安汽车、吉利汽车达成战略合作,未来旗下研发的新一代互联网地图导航产品将入驻多款车型,为用户提供出行和位置信息服务。
据介绍,未来在长安或吉利搭载了高德互联网导航解决方案的智能汽车上,用户可以享受到随时随地联网、地图数据快速更新、实时交通大数据、动态躲避拥堵等地图导航相关服务。
3. IDC:平板下跌会伤害Android让Windows受益。
尽管新款大型平板电脑,如微软Surface Pro 4,苹果iPad Pro开始流行,但是根据IDC观察和预测,平板电脑出货量延续前三个连续季度的下滑,在本季度持续下降。IDC预测,市场趋势的变化,将从独立的平板电脑转变成可拆卸显示屏的混合平板笔电。
之前在史蒂夫·乔布斯的推动下下,平板电脑只被看作是内容消费设备。现在,用户已经开始要求平板电脑可以做更多事情,笔记本电脑和配有键盘平板电脑之间的界限也开始模糊,大屏智能手机也开始蚕食小型平板电脑市场,平板电脑也开始转向各种各样的新外形。
4. Windows 10装机量已达1.48亿台,微软目标已完成约15%。
根据市场分析公司提供的第三方数据显示,在过去的几个月里,Windows 10装机速度已经放慢了一点,但是尽管如此,新操作系统装机量已经达到1.48亿台。这意味着微软10亿台目标已经完成约15%。该公司表示要在2017年底之前完成十亿台装机量。
Net Applications上个月采集的数据显示,全球电脑当中有9%正在运行Windows 10操作系统,和10月份相比,同比增长1.06个百分点。但最近Windows 10成长速度缓慢,8月份Windows 10成长率为5.21%。
新潮货
1. 华为推出指纹识别千元机畅享5s。
12月3日下午,华为在北京召开新品发布会,正式推出全新千元机畅享5s。
具体配置方面,畅享5s采用了全金属机身,配备5英寸720P显示屏,搭载64位八核处理器,2GB运行内存和16GB内部存储空间;使用1300万像素后置摄像头和500万像素前置摄像头;内置2200mAh电池,运行基于Android 5.1的EMUI 3.1系统,支持指纹识别功能。
发售信息方面,畅享5s提供黑色、白色、金色3种颜色选择,全网通版本售价为1199元,移动版本为1099元,电信版本为1199元。
2. 中兴发布指纹识别新机Blade A1,售价599元起。
昨日下午,中兴通讯和京东宣布建立战略合作级别伙伴关系,并推出一款指纹识别新机Blade A1,移动版售价为599元,全网通版为699元。
在产品配置上,Blade A1配备了四核处理芯片,5.0英寸的HD屏,2G内存和16G存储空间,800万像素前置摄像头和1300万像素后置摄像头,采用2800mAh的电池,运行基于Android5.1的Mifavor3.2系统,同时支持双卡双待和指纹识别。
Blade A1采用的指纹识别技术源自中兴高端旗舰AXON天机的第二代指纹解锁综合解决方案。为进一步提升指纹的安全性能,Blade A1在指纹信息处理方面经过硬件加密,可以屏蔽任何系统、应用等擅自读取指纹数据信息。
3. 传HTC将在明年2月推出智能手表。
一块手表传了一年半,HTC出不出智能手表可能没人关心了。早在2014年6月份就传出过HTC要推出Android Wear智能手表的消息,不过我们到现在都还没见到最终产品正式发布。不过HTC似乎从没放弃过研发自家的智能手表,推特爆料大神evleaks(@ Evan Blass)发布了以下消息:
消息称,HTC自家的智能手表将于明年2月份公布。目前已知的是,这款设备的内部代号为「Halfbeak」,屏幕分辨率为360×360,运行Android Wear系统。其它的硬件配置暂时不得而知。
通信圈
1. 高通与小米达成专利授权协议。
据彭博社报道,高通股价周三创下近四年多来的最大单日涨幅。该公司与小米签署了专利授权协议,距离解决困扰着其最赚钱业务的专利许可问题前进了一大步。
高通的专利授权业务为该公司贡献了大部分利润,但最近两年这项业务在中国市场受到严重损害。原因是在中国监管部门对高通开展了反垄断调查后,该公司从中国企业那里收取到的专利许可费用大为减少,而中国已成为世界上最大的手机市场。在支付罚款解决该反垄断案后,高通与中国手机制造商进行了艰苦谈判,以说服后者支付他们因使用其专利而欠下的费用。这笔费用数目巨大,因为高通的专利涵盖了所有现代手机操作系统的基本功能。
2. 安卓之父鲁宾或重返智能机市场做硬件。
据外媒报道,安卓之父鲁宾计划重返智能手机市场。鲁宾曾任谷歌工程副总裁,在谷歌收购Android之前,安迪·鲁宾(Andy Rubin)是Android的联合创始人之一。
据知情人士透露,鲁宾这次重出江湖并不是要做软件了,而是要开发一款Android系统的移动设备。目前,这个创造了世界上无处不在的移动操作系统的工程师正努力为新公司招募人才,不过还不清楚鲁宾是否将要在新公司担任领导人角色,还是只是负责建立。
新的手机公司也许由鲁宾在今年成立的孵化器Playground Fund赞助。Playground目前已筹集了3亿美元资金,而今年4月成为红点投资的合伙人后,鲁宾一直活跃于风险投资界。据悉,鲁宾最近投资了人工智能和智能家居领域,但对于其新手机业务来说,Android智能手机怎么也是一个成熟的市场领域了。
3. 分析称台积电将垄断iPhone 7处理器订单。
苹果一直想要去三星化,但是苹果处理器一直由三星代工,似乎短时间内还没法离开三星。尽管已经两次与台积电合作,但是三星依然是主力,台积电只是拿到了小部分订单。
不过,今年因为A9处理器的代工工艺不同,曾经有媒体测试三星版本的A9性能不如台积电版本而且续航能力也较差,甚至在香港台湾引发了退货风潮。根据汇丰银行分析师的看法,苹果明年的A10处理器将很有可能被台积电抢夺大部分订单。
在目前苹果iPhone 6s所使用的A9芯片中,60-70%来自三星电子,30%-40%来自台积电。而由于台积电的新技术使得苹果A9X选择了台积电一家,三星无缘这款处理器的代工,显然搭载了A9X的iPad Pro在性能方面表现非常强悍,这也增强了苹果继续与台积电加强合作的信心。
4. 诺基亚176亿美元收购阿朗获股东批准。
12月3日上午消息,诺基亚股东已经批准了以176亿美元收购阿尔卡特朗讯的交易。这意味着这笔交易距离完成又更近一步。在这笔交易后,诺基亚的规模将扩大一倍,成为全球最大的网络设备商之一。
本周三,诺基亚在芬兰赫尔辛基举行了股东大会,股东批准了诺基亚收购阿尔卡特朗讯的交易。诺基亚预计将于明年第一季度完成这笔交易,但交易仍需要得到阿尔卡特朗讯股东的批准。
在这笔收购后,诺基亚的员工总数将接近11万人,在移动设备市场的规模将明显扩大,同时获得阿尔卡特朗讯的IP路由产品、云计算软件资产,以及研发部门。在与爱立信和华为的竞争过程中,这些资产对诺基亚至关重要。诺基亚去年将盈利能力较差的手机业务出售给微软,随后又将地图业务出售给了德国三大汽车厂商。
5. 富士康加大投资布局二手智能手机市场。
据台湾媒体报道,作为其促进全球环境保护努力的组成部分,富士康(Foxconn Electronics)加强了对二手智能手机市场的投资。富士康科技集团旗下子公司NC-IH最近收购了英国经销商Bamboo Distribution的20%股份,后者是英国的手机回收、翻修和分销公司。
消息来源表示,这笔投资将使得富士康进入欧洲手机回收和再利用市场,从而打开该公司收入新渠道。富士康科技集团于2014年9月份开始涉足手机二手市场,当时该集团旗下子公司富智康(FIH Mobile)收购了美国电子产品回收和再利用公司CExchange公司30%股份。
机器人
1. “机器人之父”恩格尔伯格逝世,享年90岁。
美国机器人工业协会确认,被誉为机器人之父的约瑟夫·恩格尔伯格(Joseph Engelberger)当地时间12月1日在康涅狄格州的家中安然离世,享年90岁。
恩格尔伯格创造出世界上第一个工业级机器人,让科幻变成了现实。根据美国机器人工业协会的数据,2014年,工业机器人的销售额为16亿美元。
该协会表示,恩格尔伯格的成就“彻底改变了现代工业和汽车制造的流程,随后又制造了服务机器人。”
2. 日本未来10年近半劳动力或被机器人代替。
据日经新闻报道,日本有研究机构发布报告称,在未来10~20年之内,日本所有劳动者49%的工作将可能被人工智能(AI)和机器人代替。
研究指出,网络维护员、建筑施工人员和出租车司机等职业将被代替的可能性较高。创造抽象概念、需要与他人协调和说服他人的外科医生、时装设计师等职业被代替的可能性较低。
野村综合研究所通过与英国牛津大学副教授迈克尔·奥斯本(Michael Osborne)等人的共同研究得出了上述结果。研究指出,“需要分析数据和固定程序操作的工作、未必需要特别技能和知识的工作很有可能被代替”。
每日一早报
热点·新品·招聘·资源·活动 最有效的行业对接
需求对接:微信添加“autocratel”







