智东西(公众号:zhidxcom)
编译 | 刘柏涵
编辑 | 程茜
智东西10月18日消息,据彭博社记者马克·古尔曼预测,iPad Pro 2022或许将于美东时间10月18日发布,升级为M2芯片或成该机型的最大变化,MacBook将会是苹果秋季更新中变化最小的产品。
古尔曼推测,苹果秋季发布会取消不只是因为新品技术没有太大更新,还有要为明年苹果首款MR头显营销节省精力的原因。
除了秋季新品外,苹果还正在研发新款入门级iPad、M2版本的Mac mini、与iPad连接的独立设备和扩展坞配件和HomePod的升级版,它还即将推出搭载A14芯片和4G内存的Apple TV。
一、M2芯片iPad Pro成最大变化,新款入门级iPad将迎来几年内最大更新
古尔曼预测,11英寸和12.9英寸的iPad Pro 2022或许将于美东时间10月18日发布,代号分别为J617和J620,搭载了与最新款MacBook Air相同的M2芯片。
这是一年半以来,苹果Pro系列平板电脑的首次更新,M2芯片会是此次更新中的最大变化。这款芯片将提供近20%的速度提升,虽然没有去年M1的速度提升的那么大,但也不容小觑。

▲M1 iPad Pro
新款iPad Pro的外观看起来与去年的Pro机型相似,仍然采用边缘平角设计。这也意味着,边缘平角设计即将进入第四年头,相比之下,2015年推出的iPad Pro的外观设计只保留了三年。古尔曼认为,现在的iPad Pro外观看上去更流畅,并且与苹果其他iPad和iPhone的设计一致,所以目前坚持使用它是有道理的。

▲iPad Pro 2015
苹果还在开发一款新的入门级平板电脑,它将带有USB-C接口和与iPad Pro类似的外观。当这款入门级产品上市时,它将是该系列产品几年来最重要的更新,因为入门级产品通常每年只进行芯片升级,此次更新将标志着苹果一种战略转变。
在软件方面,苹果计划在美东时间10月24日左右发布iPadOS 16.1。如果一切按计划进行,系统开发工作将在发布前一周完成。苹果的第四季度财报电话会议预计将在美东时间10月27日举行,该公司通常会在财报公布前几天或几周发布新产品。
iPad Pro上的Stage Manager是苹果颇具争议的新的多任务界面。古尔曼认为该软件是脱节的和有bug的,比如在打开Stage Manager时,应用程序可能因不适配而崩溃。但他相信苹果不会把它从iPadOS 16.1中移除,还会把它安装在新机型之中。苹果试图通过将该功能部署到非M1版本的iPad上,来安抚Stage Manager批评者。

▲Stage Manager
二、Mac mini两年来最大更新,发布会取消或因MR头显
据知情人士透露,即将发布的新一代MacBook Pro将安装第一版macOS Ventura系统,并配备第一批M2 Pro和M2 Max芯片。这两款芯片将比标准M2版本的更强。MacBook将此次苹果产品更新中变化是最小的。
古尔曼认为虽然新款MacBook Pro有望在不久后推出,但它们将不会与iPad Pro一起发布。因为苹果公司历来都是在每年11月发布新款MacBook电脑,比如2019年11月时推出了第一代16英寸MacBook Pro,以及2020年11月推出了首款基于苹果M1芯片的MacBook Pro、MacBook Air和Mac mini。
苹果正在开发M2版本的Mac mini,这将是该公司两年来对Mac mini进行的首次更新。
苹果公司在秋末发布iPad和MacBook的新一代产品时,通常都会举行引人注目的发布会,但今年的发布活动将较为低调。苹果将在其网站上发布新产品,而不会像今年9月发布iPhone 14系列时,举行那样盛大的发布会。
古尔曼分析,苹果之所以不召开秋末发布会,是因为这次发布会的意义一般,没有什么新的设计推出,还有一个原因是,苹果可能是在为明年MR头显的首次亮相节省营销精力。
三、iPad或成目前苹果立足智能家居领域的最佳选择
苹果计划将其平板电脑推向更多的家庭,使其变成智能家居中的中枢或者智能音箱,这种方法与谷歌即将推出的搭载智能音箱的Pixel Tablet平板电脑所采取的方法类似。
谷歌于今年5月首次展示了Pixel Tablet平板电脑,它与旧版本的设备一样都搭载安卓系统。本月,谷歌透露将发售一款新的硬件,它可以与Pixel平板电脑连接起来,这种组合能够达到智能显示器和家庭控制设备中心的效果。

▲Pixel Tablet
据古尔曼所知,苹果最早将于2023年将类似的功能引入iPad。去年他曾报道过,苹果正在研发一款独立设备和一款iPad扩展坞配件,它们可以将iPad与音箱结合起来,供一些用户可以放在厨房柜台、客厅或床头柜上。
无论最终的做法如何,此举都将标志着苹果向智能家居设备领域迈出的重要一步,在智能音箱领域有了一些发展。古尔曼认为,苹果已经推出了智能电视Apple TV和智能音箱HomePod,但都不能称之为亚马逊和谷歌的有力竞争对手,亚马逊已经推出了智能显示屏Echo Show,谷歌也一直在智能家居领域不断探索。
苹果将推出搭载A14芯片和4G内存的Apple TV,之前版本搭载的是A12芯片和3G内存。

▲Apple TV 4K
此外,苹果还在继续研发HomePod的升级版,该升级版将比该产品的迷你版更大,它能将Apple TV和智能音箱结合在一起,配有用于FaceTime和其他应用的摄像头。不过古尔曼认为,在这些产品准备好之前,有12年历史的iPad可能是该公司在智能家居领域立足的最佳选择。

▲HomePod mini
苹果公司在2022年已经发布了Apple Watch Ultra、iPhone 14系列、Mac Studio和新iPhone SE,加上部分即将发布新产品,这些产品将为苹果公司相当重要的一年划上句号。但古尔曼认为苹果将在明年有更大的动作,MR头显、新一代的MacBook Air和iPhone,以及更多的家用设备都将到来。
四、iPhone 15 Pro或将搭载潜望式长焦镜头,苹果获柔性屏专利
据供应链消息曝光,iPhone 15 Pro可能将搭载潜望式长焦镜头,该镜头供应商可能是中国台湾光电设备公司大立光电。大立光电是全球精密光学塑胶镜头领导厂商,主要业务是各式光学镜头模组与光电零组件等产品的研究开发,产品包括手机镜头、AR/VR镜头、虹膜识别镜头等。
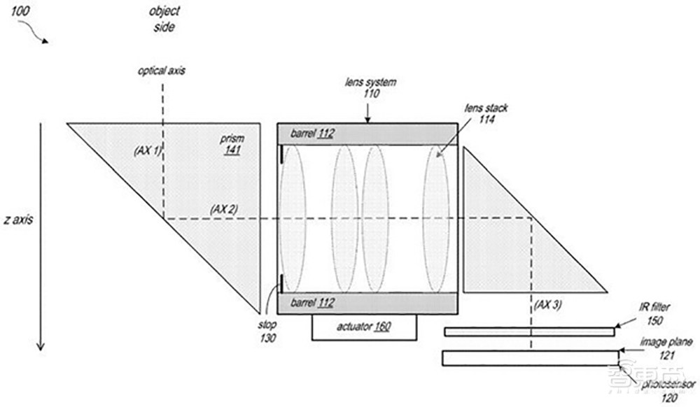
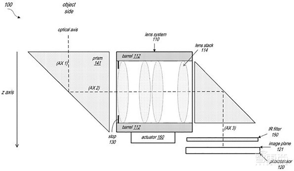
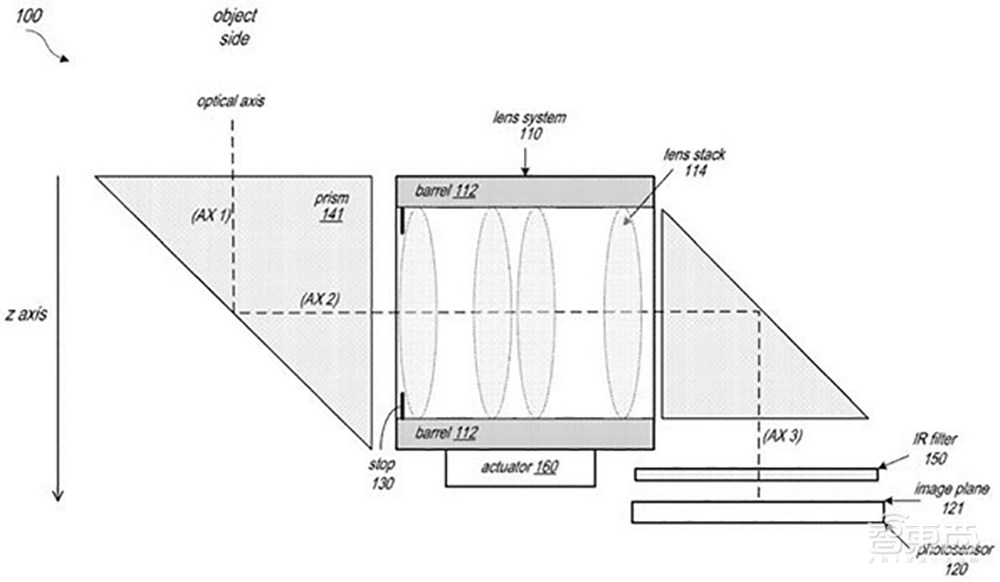
新款的苹果潜望式长焦镜头可能将会采用8P镜头模组,其中包含玻璃镜片与棱镜。

▲潜望式长焦镜头设计示意图(图源:中关村在线)
此外,苹果一项名为“具有柔性显示屏覆盖层的电子设备”新专利曝光。根据专利内容分析,电子设备中可以安装一个铰链,能够支持设备绕着一个弯曲轴进行弯曲,让显示屏可以横跨弯曲轴。设备的柔性层中包含着一种弹性材料,让屏幕被拉伸后可以恢复成原来的样子。
结语:苹果明年各系新品或更有看头
今年9月,苹果发布的iPhone 14系列引发了人们的热议,对灵动岛的追捧和对iPhone 14版本的吐槽比比皆是。现如今,苹果又计划取消秋季发布会,可能都预示着这次iPad、MacBook系列的新品更新程度较少。
不过,最值得关注的是,苹果可能在为明年的众多新品憋大招,如iPhone 15 Pro潜望式长焦镜头、MR头显虹膜识别、苹果柔性屏专利等,这些预测如果都能成真,也印证了苹果正在大踏步地向新领域发起尝试。
来源:彭博社