智东西(公众号:zhidxcom)
编译 | 周炎
编辑 | 云鹏

智东西3月22日消息,据The Verge报道,近期,苹果通过了一项Apple Watch表带的新专利,根据该专利描述,Apple Watch将配有NFC芯片,当用户在连接或移除某些配件时,Apple Watch会自动采取行动,包括自动更换表盘颜色、启动健身程序等。

据这名记者称,虽然这项专利在未来并不一定会用在产品中,但目前来看,苹果公司正在推进这项专利的落地。据这名记者的描述,当用户佩戴运动型表带时,手表系统就会启动一个健身应用程序,来帮助用户采用正确的方法健身。

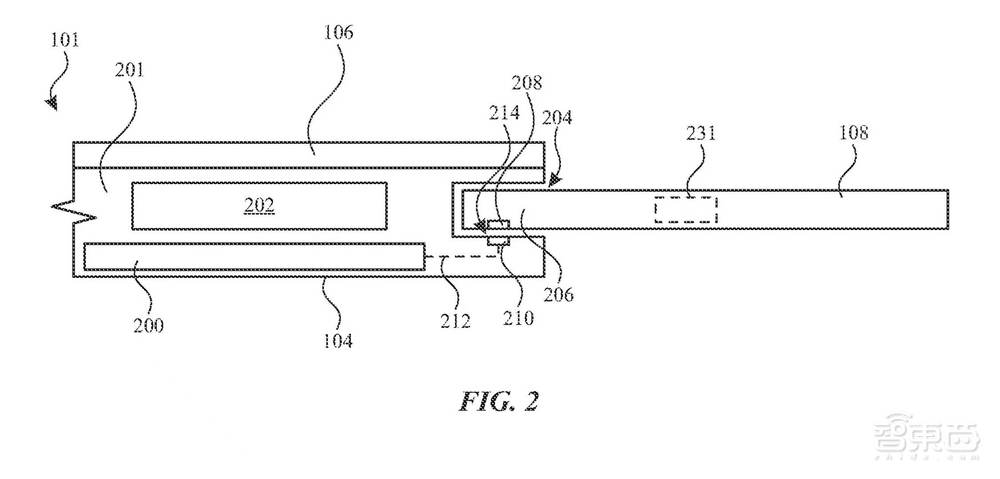
Apple Watch新专利曝光:苹果竟然能把表带玩出新功能▲将NFC芯片和阅读器放在表带中,然后连接到手表上,来源:苹果官网

苹果公司称,Apple Watch内置的NFC芯片还可用于频段中组件通信(communicate with components in the band)。事实上,虽然将设备内置带表带中的想法早已有之,但NFC的频段组件通信将比使用蓝牙更加准确。

这名记者称,此前苹果公司已经为这项技术做出许多准备。当用户将AirPods Max或某些型号的Beats(苹果旗下的耳机品牌)等设备与iPhone配对时,系统会进行颜色匹配,即图形显示的耳机颜色和真实的耳机颜色相同。

它还具有一个通过iOS上的快捷方式应用程序实现基于NFC的自动化系统,虽然Apple Watch目前暂不支持过这一功能,但用户可以在支持Gymkit的运动设备上启动它,这样系统就会开始跟踪用户的运动锻炼并同步健身数据。

这项专利还显示,苹果的系统可以判断用户使用的是Apple Watch还是第三方手表。一旦确定与设备耦合的频段不是授权频段,苹果的设备输出组件就会提出警告,同时某些功能还将面临禁用。

这项专利将用于未来的Apple Watch中去,它实际上提供了一个令人信服的升级理由,即这项技术并非每代都有。

结语:智能手表将会向着更加更加人性化的方向发展

不管是此前的Apple Watch将脱离表带,作为一款小型手持设备使用;还是表带将可以进行调整,实现不同长度、张力、曲率、固定配置特征的调整松紧,从而在运动等场景更准确监测心率;抑或是当下的移除某些配件将实现自动化运作,这些专利背后都展示出苹果在制造更加人性化产品上付出的努力。

这也为未来可穿戴设备提供一种思路,产品不仅要具有便携性、美学上的吸引力,更要实现在不同场景下具备多重功能。这样才能给用户更加完美的场景体验感。

来源:苹果官网、The Verge