智东西(公众号:zhidxcom)
作者 | 云鹏
编辑 | 心缘
就在所有人都聚焦于华为5G麒麟芯片回归时,苹果也在昨天悄悄发布了自家年度最重磅秋季“春晚”的邀请函。
在3nm A17芯片、潜望式摄像头、Type-C接口、钛合金中框等多方面升级大改之下,消费者和产业对于苹果iPhone 15的期待值都已经拉满。

在一系列升级之中,潜望式镜头的升级无疑成为今年iPhone 15 Pro Max顶级旗舰机型中的最大看点,也是Pro Max独占的新特性。
安卓手机厂商们“卷”了四五年的潜望式镜头,如今看上去似乎已鲜有新意,苹果迟来多年能否再次后发制人,甚至彻底改变潜望式镜头在手机中的应用和玩法?还是说只是一次例行“追赶”,补齐短板?
实际上,苹果的潜望式镜头大招已经酝酿多年,最早从2015年起就有相关专利流出,期间苹果还为了绕过三星相关专利而“煞费苦心”,其中不少细节都已浮出水面。
郭明祺大胆预测苹果潜望式镜头的应用将给整个手机供应链带来巨大的机遇,一个潜望式镜头模组的成本甚至将超过500元,相比传统手机镜头最多翻了4倍。
上代iPhone 14 Pro Max仅今年上半年就卖出了2650万部,此次Pro Max版独占潜望式镜头升级,销量预计会更高,如果按照2800万部计算,单独潜望式镜头的升级就可以在半年内带来超过100亿元的增量市场。
根据供应链信息,高伟电子、蓝特光学、水晶光电等多家中国大陆果链企业都已杀入“决赛圈”,准备享用这波红利。
不论如何,苹果的入局,势必会在手机长焦端拍照掀起一场新的较量。届时各种技术是否会被安卓供应链快速跟进,手机镜头产业是否会迎来新一波技术革新浪潮,都将会成为影响智能手机产业发展的重要变量。
一、八年专利布局,苹果的潜望式镜头到底会长啥样?
首先,大家可能会有一个问题,多了这枚潜望式镜头能有什么体验上的改变?
如果从现有安卓阵营的方案来看,潜望式镜头的加入,可以让手机的拍摄焦段有显著提升,过去远处拍不清楚的现在可以拍清楚了,比如大家熟悉的拍月亮。

▲用某国产旗舰手机潜望式镜头拍摄的月亮
另外,通过多摄融合计算摄影,潜望式镜头也可以变相提升其他摄像头成像的画质。
但是,苹果是否会玩出新花样,颠覆现有的潜望式镜头体验,仍存在很大可能,潜望式镜头的加入,可能不只是能把远处拍清这么简单。
接下来回到关于这颗潜望式镜头的核心问题之一:苹果的这枚潜望式镜头,会是什么样的?
从三星到华为、小米、OPPO、vivo,各家旗舰机中应用潜望式镜头已经多年,从10倍光学变焦到如今的超薄潜望式镜头模组,从传感器面积增大、光圈提升到模组轻薄化,几乎都“卷了个遍”,苹果要做,会是什么样?
早在去年的iPhone 14发布之前,业内就已经开始讨论苹果做潜望式摄像头的事了,毕竟供应链的方案预研要提前好几年开始。
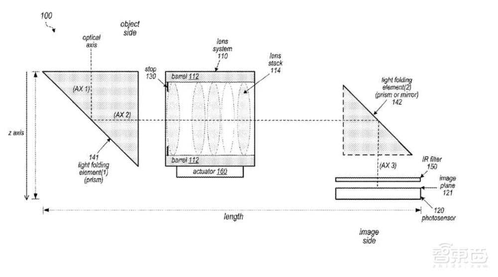
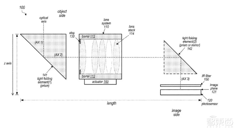
并且苹果从2015年开始就有相关专利流出为外界所知。根据2015年苹果申请的专利,其潜望式镜头模组的结构与我们现在常见的模组无异,通过一次光线折射,将光线传递至图像传感器上。

▲2015年苹果公布的相关专利
这样做的优劣势都比较明显,一次折射相比两次折射会减小光线的损失,但同样传感器只能竖直放置也会一定程度上限制传感器的尺寸,因为机身厚度是有限的。

同时,一次折射能够实现的光路长度有限,无法通过更长光路实现更高倍变焦。如何既保证光路长度,又尽量减少模组长度?华为此前在P40 Pro+上曾经通过多次反射实现了更长的光路,其模组在宽度上有所增加。

▲华为P40 Pro+上的潜望式镜头方案
值得注意的是,在这个镜头模组中,我们能看到两组可以移动的镜片组。这与现有安卓阵营中的一组可移动镜片方案有所不同,预计在技术难度上会有所增加。
时间来到2021年,苹果继续密集公布了多项潜望式镜头相关专利,从中我们可以看出苹果潜望式镜头技术迭代的路线。

▲2021年苹果公布的相关专利
在2021年7月的一份专利中,苹果的潜望式镜头模组变得更加小巧,可移动镜组变为一组,并且通过两次光路折叠,将传感器“平行”于机身背板放置。从专利示意图来看,中间镜组中包含至少四到五个镜片,整个镜片组是较为紧凑的。

这种将图像传感器“平躺”的方式,一定程度上可以减小图像传感器受机身纵向厚度的限制。
目前国内华为、小米、OPPO、荣耀旗舰机中所使用的潜望式镜头模组,基本都已“竖放”传感器为主。对于苹果来说,是否能在光路结构和镜组结构上有所创新,或许会成为其能否实现较大提升的关键。

▲OPPO Find X6 Pro上搭载的潜望式镜头模组,来源:WekiHome
通过目前已有的iPhone 15 Pro Max渲染图来看,其机身厚度的确没有明显变化,依然比较薄。因此苹果大概率不会为了追求长焦拍照更好的画质而牺牲机身厚度,苹果潜望式镜头模组的体积预计将会有比较好的控制。
根据2021年7月的这份专利,苹果的目标是将光学变焦倍数做到4-6倍,不过2021年专利中所实现的光学变焦倍数仅有3倍。
此外,苹果目标是将光圈控制在f2.8到f3.5之间,目前小米、OPPO等旗舰机中的5倍光学变焦潜望式镜头光圈已经可以做到f2.2到f2.6。

▲2021年8月苹果公布的相关专利
就在今年8月,苹果仍然在更新潜望式镜头相关专利,从最新的这份专利来看,苹果已经把潜望式镜头模组的尺寸做的非常“小巧”了。并且其入射棱镜的尺寸较大,进光量预计不低,传感器依然是“平放”的模式。
今年苹果iPhone 15 Pro Max上的潜望式镜头,或许与这项专利所展示的形态已经相差不多了。

▲2023年8月苹果公布的潜望式镜头相关专利
根据最新的爆料信息来看,iPhone 15 Pro Max上我们可能会见到的这颗潜望式摄像头,将会支持5-6倍光学变焦,传感器尺寸为1/3″,像素预计为1200万,光圈值f2.8,支持苹果使用多年的传感器位移防抖。
从现有硬件规格上看,苹果这枚潜望式摄像头并没有很惊艳,但苹果更大的优势在于软硬件协同以及算法调校上,这也令人对其抱有较高期待。
二、绕开三星的专利壁垒有多难?苹果或选择拥抱LG
苹果的理想很丰满,但想要做出一个令苹果满意的方案,绝非易事,其中专利问题给苹果造成了不小的困扰。
就在苹果潜望式镜头专利发布最为集中的2021年到2022年,苹果与三星的专利矛盾问题也逐渐浮出水面。
简单来说,苹果想要设计的潜望式镜头,其镜片组在移动的时候会使用到一种驱动器结构,我们可以将其看作一种“自动对焦马达”整体结构的一部分,而这一零部件技术的相关专利掌握在三星手中。
三星第一次发布潜望式镜头是在2020年推出的三星Galaxy S20 Ultra旗舰机上,而且首次亮相就是一枚10倍光学变焦潜望式镜头。

▲三星Galaxy S20 Ultra潜望式镜头模组内部结构,来源:JerryRigEverything
这一时间与苹果三星产生专利问题的时间也比较接近。
根据三星Galaxy S20 Ultra这枚潜望式镜头的拆解来看,其整体尺寸还是比较大的,并且内部结构较为复杂,模组两侧有明显的滑动结构和相关驱动器件。

▲三星Galaxy S20 Ultra潜望式镜头模组内部结构,来源:JerryRigEverything

▲三星Galaxy S20 Ultra潜望式镜头模组内部元器件,来源:JerryRigEverything
根据供应链信息,国内大部分安卓智能手机所使用的潜望式镜头模组以及镜头多为舜宇光学和大立光制造,其是否包含三星专利,并未找到相关公开说明。
从已有的三方拆解图来看,小米、OPPO的潜望式镜头尺寸都比较大,且外观看起来与三星的较为接近。

▲小米旗舰机中使用的潜望式摄像头,来源:WekiHome
其中OPPO Find X6 Pro的潜望式镜头内部结构与三星更加接近,不排除采用同一类方案的可能性。

▲三星方案(上)与OPPO方案(下),来源:来源:JerryRigEverything、WekiHome
也有三方机构将华为P40 Pro+上的潜望式镜头模组进行了拆解,对比显示,华为潜望式镜头模组的内部光路虽然更为复杂,但整体元器件更少。

▲华为P40 Pro+潜望式镜头模组内部结构,来源:涛哥拆机

▲三星S21 Ultra潜望式镜头模组,来源:涛哥拆机
其单独采购价格据此三方拆机方称仅有三星S21 Ultra潜望式镜头模组的八分之一左右。

▲华为P40 Pro+潜望式镜头模组(左)与三星S21 Ultra潜望式镜头模组(右),来源:涛哥拆机
不论如何,从拆解结果我们都能看到,在潜望式镜头模组中,自动对焦马达结构是非常关键的,其影响着镜头滑动变焦时的稳定性与准确性。
从原理上来看,三星的这项专利是通过一种类似滚珠导轨的结构来驱动镜组,而此前苹果在iPhone摄像头中使用的都是弹簧结构,潜望式镜头需要对镜组实现精确控制,因此三星的方式显然更有优势。
据韩媒报道,此前三星曾于2019年收购了一家名为Corephotonix的以色列公司,从而获得了上述这项技术所需要的专利。
与此同时,三星的子公司三星电子机械和韩国家化电子(Jahwa Electronics)作为三星供应链厂商,也拥有潜望式镜头对焦马达的部分相关专利。
苹果原本计划仍然从此前iPhone的镜头模组供应商LG InnoTek那里采购整个潜望式镜头模组,并从三星电子机械那里采购前文提到的对焦马达。
如果苹果选择了这条路线,那么这家三星子公司就会替代苹果原有的对焦马达供应商日本阿尔卑斯(Alps Electric)和日本三美电机(Mitsumi Electric),并且,苹果也就需要向三星支付专利费。
当然,苹果似乎也有其他打算,比如考虑如何绕过三星专利。
通常手机镜头模组中都会用到OIS光学防抖,而防抖结构和自动对焦马达通常会集成于一个模块中,家化电子当时就是做这种模块的厂商。

▲家化电子的OIS、Shutter一体式驱动器(Actuator)产品,来源:家化电子官网
苹果曾考虑从家化电子采购整个OIS模组,苹果是否想通过这种方式间接取得自动对焦马达,尚未可知,但可以明确的是,家化电子的OIS技术是与三星和三星电子机械共同研发的。
所以绕了一大圈,苹果可能还是摆脱不了三星的专利。
对于苹果来说,在屏幕领域被三星牢牢拿捏已经是库克不希望看到的了,在潜望式镜头上,苹果必然希望尽力避免被三星专利再次限制住。
据韩媒报道,LG InnoTek也在开发自己的潜望式镜头自动对焦技术,并且LG InnoTek还在2021年7月打赢了一场跟Corephotonix的关于长焦镜头的官司。
这样看来,苹果通过LG绕过三星专利,存在可能。不过话说回来,最好的结果自然是苹果通过技术研发建立自己的相关技术专利,并将专利授权给供应商进行生产制造,这才是苹果应用最为熟练的套路。
三、被寄予厚望的潜望式镜头,或为整个手机镜头供应链带来新风
从与三星的专利博弈中能够看出,苹果在潜望式摄像头这件事上,可没少费心思。这样的投入是否值得呢?已经卷了这么多年的潜望式镜头,能为iPhone加分多少,又能给智能手机产业链带来怎样的价值?
天风证券分析师郭明祺预计,搭载潜望式摄像头的iPhone15 Pro Max,其出货量占比将成为整个系列中最高的,预计在35-40%。iPhone 15 Pro Max也是此次iPhone 15系列中唯一搭载了潜望式镜头的机型。

他进一步提到,明年iPhone 16 Pro上也会搭载潜望式摄像头,得益于此,苹果潜望式摄像头的整体出货量预计将同比增长70%。
供应链方面,中国台湾大立光将成为iPhone 15 Pro Max上这枚潜望式镜头的独家供应商。
值得一提的是,华为潜望式镜头的主要供应商之一也是大立光,根据郭明祺调查,大立光在华为潜望式镜头出货中的占比在60%以上,华为也是国内采用潜望式镜头最积极的厂商之一,2023年搭载潜望式镜头的机型出货量在1500-2000万部,明年这一数字有望达到3000万部。
郭明祺提到,这枚潜望式镜头的成本大约是一般高端7P镜头的3-4倍以上,这就相当于一部手机的镜头总成本翻了一倍,原来是三摄,如今成本相当于五到六摄的水平。
预计苹果潜望式镜头模组中的镜头成本在10到15美元(约合人民币73到109元),而现有的高端7P镜头成本仅有1.5到2美元。郭明祺特别提到,整个潜望式镜头模组的单价会非常高,如果初期良率不佳,单价可能会飙涨到60-70美元(约合人民币437到510元)以上。
这或许也是此次Pro Max版本售价预计上涨200美元的主要原因之一。当然,大立光会因此受益。
如果将目光放长远来看,郭明祺认为苹果整个镜头供应链都会因为潜望式镜头的采用而进入两年左右的高速成长期。摄像头传感器、对焦马达、整个镜头模组的成本都将会有明显提升,对供应链企业来说必然是好事。
郭明祺特别提到了棱镜和镜头的改变,棱镜只会用在潜望式镜头中,因此这也是苹果首次使用棱镜,后续几年棱镜供应量的增长十分可期。

此外,镜头是所有零组件中规格和商业模式变化最大的,产值成长也最高。根据郭明祺报告,苹果的潜望式镜头中将会用到成本较高的1G2P(1片玻璃镜片+2片塑料镜片)镜头,以及前文提到的两片棱镜。
当然,由于结构的复杂度提升,潜望式镜头的加入,也需要大立光、玉晶光等厂商提升组装生产能力,据称这两家厂商都在扩产以应对苹果的订单。
从苹果整个镜头模组的供应链来看,图像传感器的独家供应商仍然为索尼,镜头模组部分,LG Innotek是今年的独家供应商,高伟电子明年会加入到次供中。
马达部分,LG Innotek是主要供应商,前文提到的家化电子是次供。大立光可能是此次镜头的主要或独家供应商,玉晶光次供;蓝特光学是棱镜的主要或独家供应商,水晶光电次供。
可以看到,在苹果潜望式摄像头这波产业链红利中,中国果链厂商有不少可以吃到。
在郭明祺看来,如果苹果潜望式镜头的应用可以收获不错的市场反馈,国内的安卓手机厂商大概率都会跟进,而国内安卓手机潜望式镜头的供应链主要涉及三星电机、大立光、舜宇光学、蓝特光学和水晶光电等厂商。

▲部分国内智能手机使用的潜望式镜头,来源:新评科技
结语:潜望式镜头背后,苹果又将掀起一场供应链革命
苹果并不是第一个做平板电脑、TWS耳机、智能手表的厂商,但目前苹果都是这些领域毫无疑问的第一大巨头。苹果“后发先至”的故事已经上演过很多次,在潜望式镜头和折叠屏领域,苹果能否再次复制神话,成为业内所期待的。
从现有信息来看,苹果这颗潜望式镜头技术含金量十足,也集合了全球手机镜头产业链中顶级玩家的最先进技术,虽然其在已知硬件规格方面没有非常惊艳的参数,但苹果能在实际拍照效果上带来哪些突破,在长焦拍照应用体验上带来哪些创新?答案即将于十二天后揭晓。
如今三星2023年智能手机出货量预测已经降至2.2亿部,而苹果按照既有订单量,其2023年出货量可能会达到2.2-2.25亿部,超越三星成为全球第一大智能手机厂商,迎来历史性一刻。