芯东西(公众号:aichip001)
作者 | ZeR0
编辑 | 漠影
芯东西5月6日报道,中国证监局官网显示,深圳FPGA芯片龙头企业紫光同创已在深圳证监局办理辅导备案登记,正式启动A股上市进程,辅导机构为中信证券。
紫光同创成立于2013年12月30日,注册资本为5.17亿元,法定代表人为祝昌华,无直接控股股东,间接控股股东是新紫光集团有限公司,现合计控制公司55.27%股份。北京智广芯控股有限公司为新紫光集团有限公司唯一股东,亦为紫光同创间接控股股东。
可编程逻辑门阵列(FPGA)器件具有硬件可编程、场景自适应等优势,与CPU、GPU等构成了电子信息产业的关键核心技术,国产化难度更大。
根据官网介绍,紫光同创总部位于深圳,拥有北京、上海、成都等研发中心,专业从事可编程系统平台芯片及其配套EDA开发工具的研发与销售,致力于为客户提供完善的、具有自主知识产权的可编程逻辑器件平台和系统解决方案。
紫光同创是国家高新技术企业,拥有高中低端全系列产品,产品覆盖通信、工业控制、图像视频、消费电子、汽车、数据中心等应用领域。
在上个月举行的2025慕尼黑上海电子展期间,紫光同创展示了从高性能FPGA芯片设计到通信、工业、图像视频等多元场景落地的能力,并首次发布了多核异构SoPC家族PG2K100、高性能FPGA家族PG2T160H等多款新产品。
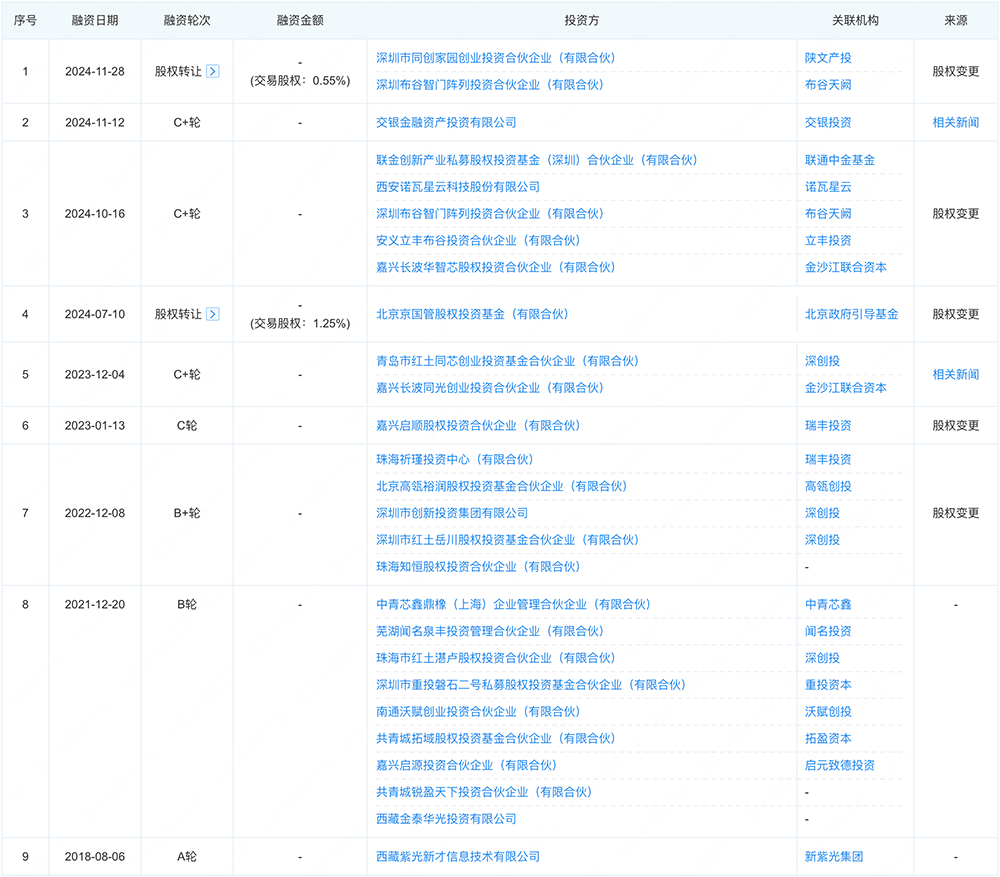
企业信息查询平台企查查显示,此前紫光同创经历了9轮融资,投资方关联机构涉及新紫光集团、深创投、高瓴创投、瑞丰投资、金沙江联合资本、北京政府引导基金、联通中金基金等。
▲紫光同创融资历程(来源:企查查)
根据大湾区资本圈去年7月发表的公众号文章,紫光同创累计投资超过40亿元,团队规模超过800人,其中80%为研发人员;知识产权申请超过700项、核心知识产权申请占比近80%。
该公司攻克了自主产权FPGA研发关键技术及解决了产业化难题,构建了成熟工艺产品技术研发平台和产业化平台,2017年研制的1800万门自主产权高性能FPGA是中国第一款千万门级自主产权高性能FPGA产品,2019年营收突破1亿元,2022年营收突破15亿元,2023年营收同比增长超过30%。



