机器人前瞻(公众号:robot_pro)
作者 | 许丽思
编辑 | 漠影
机器人前瞻3月11日报道,今天,潜行创新宣布完成近亿元人民币C轮融资,本轮融资由立湾资本领投。此次融资将主要用于核心技术研发、重点产品迭代、供应链与制造体系升级、海内外市场拓展,以及行业场景解决方案能力建设。
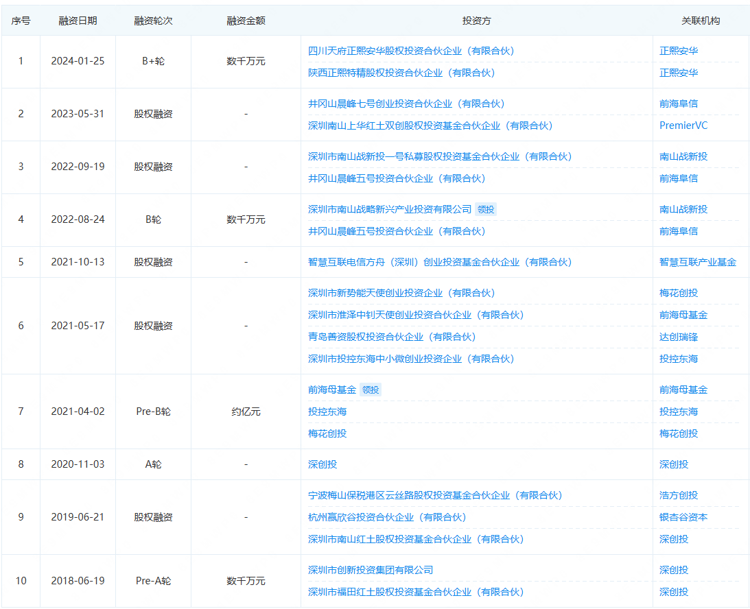
潜行创新成立于2016年,此前已完成多轮融资:

潜行创新专注于行业级与消费级水下机器人、便携式水域智能无人装备及相关解决方案的研发、生产和销售,已形成覆盖行业级ROV、消费级水下无人机、泳池清洁机器人、智能垂钓无人机等方向的多元产品矩阵。

▲潜行创新推出的多款消费级、行业级产品
其中,潜鲛X100具备全球首创的全向抗流技术,能智能感知水流并自动调整姿态,抵抗最大4.5节强洋流,最大潜深350米。
潜蛟V2000针对严苛工业场景设计,最大下潜深度2000米,配备5公斤负载机械臂,连续作业时长8小时,可应用于海底管线巡检、大坝水库检测、船体维护及海洋资源调查。
HASING L1 Ultra是潜行创新推出的全球首款融合“激光雷达+AI视觉”的智能泳池清洁机器人,可厘米级精度扫描全域并精准辨识垃圾类型,根据垃圾的密度动态调节清洁频次,70㎡泳池池底清洁仅需50分钟。
截至目前,该公司拥有员工300余人,拥有国内外知识产权400余项,已推出8代核心产品,荣获海内外各类奖项100余项。
创始人兼CEO张洵,前华为核心算法部高级专家,拥有8年以上华为核心技术研发经验,深耕机器人自动控制、算法优化领域,2014年涉足航拍无人机领域,积累了消费级智能硬件的研发与市场验证经验。
联合创始人兼总经理周长根,前华为日本地区部质量运营部部长,拥有10年以上企业运营、财务管理与质量管控经验。
联合创始人兼CMO杨洋,前华为海思手机芯片项目经理,拥有8年以上项目规划管理、全球市场推广经验。
目前,该公司已服务全球100多个国家和地区,在行业级领域,该公司产品已应用于应急救援、船体巡检、环境监测、渔业与科研、水下检测与测绘等场景;在消费级领域,该公司围绕大众水下影像、智能清洁与智能探鱼等方向持续拓展用户市场。
本轮融资后,潜行创新称,将持续加大核心技术研发和下一代水下智能机器人平台建设,提升关键系统能力与产品竞争力;围绕重点产品线和重点应用场景推进产品迭代与解决方案落地,进一步完善行业级与消费级产品的商业化落地能力;同时强化供应链、制造与交付体系建设,提升规模化量产和全球市场响应能力。