智东西(公众号:zhidxcom)
编 | 旖媛
「智东西」早报
第438期 2016.9.2 周五
VR/AR
1、联想加入谷歌Daydream阵营 未来或会推出VR头显。
谷歌在今年的I/O开发者大会上宣布将会推出Daydream平台,当时公布的合作伙伴包括三星、HTC、LG、小米、华为、ZTE、华硕、以及阿尔卡特。而现在,联想也将要加入该平台的合作伙伴行列中。
联想集团副总裁、移动业务集团的市场部负责人Jeff Meredith在接受采访时说道:“我们的发展路线图上有一些Daydream产品。”
Meredith并没有详细解释,但这些产品有可能会是智能手机和VR头显。谷歌对兼容Daydream系统的智能手机和头显有严格的标准,需要基于安卓7.0系统。
2、国外公司研究流传输技术 无线版Vive即将推出。
据外媒报道,位于保加利亚的公司Quark VR,正在试验用其流传输技术实现无线版本的HTC Vive。
Quark VR主要的工作内容是为软件开发者们提供软件工具开发包,以将基于PC的VR游戏适配在任何支持Unreal与Unity引擎的头显上。
Quark VR的创始人与CEO,Krasi Nikolov向UploadVR展示了其正在研发的流传输应用程序。该程序或能让HTC Vive摆脱连接线的限制,通过流传送来解决数据传输的问题。
3、率先进入IMAX影院 Acer发布StarVR头显。
宏碁和Starbreeze AB于2016柏林消费性电子展(IFA)展前记者会宣布,StarVR虚拟现实(VR)头戴式显示器(HMD)已正式出货,这款头戴式显示器将在IMAX年底正式开幕的洛杉矶IMAX VR体验中心中使用,这也落实了宏碁于月前承诺将在年底小量出货,并预计在2017年投入量产的宣言。Starbreeze执行长和IMAX业务发展主管也参加了宏碁IFA展前的全球记者会,并发表演讲。
4、传三星将在明日披露VR相关,三星Daydream头盔即将出世?
据外媒UploadVR“爆料”,三星即将在明天上午GMT时间11点(北京时间晚19点)开直播发布会,届时将会公布“与VR相关的事宜”。
虽然消息中并未指出是要公布什么,但外媒猜测会是与谷歌Daydream相关的设备,可能是头盔,也可能是一体机。或者今年早期CES上的Rink动作控制器。
苹果派
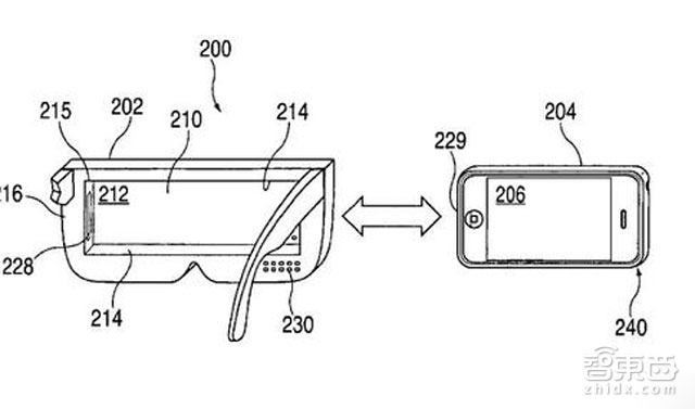
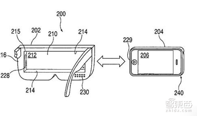
1、苹果通过新专利:兼容iPhone的无线VR头显。
虽然VR虚拟现实行业主要关注HTC、Oculus和索尼三巨头的动作,但大家一直也没忘潜在的第四巨头——苹果。据uploadvr报道,苹果今日又拿下一项新专利;头戴式显示装置(HMD),用于容纳带显示屏的电子设备。
该专利列出一个头戴显示设备,能够与苹果智能手机“配对”,以便查看手机屏幕上的特定图像。所提出的HMD将包含内置耳机,连接两台设备的闪电接口,像眼镜的外形,以及定制镜片。
2、苹果或提前在明年的iPhone 8中引入虹膜识别。
台湾电子时报网站早前曾经披露,苹果公司计划在2018年在手机中植入虹膜识别组件,不过最新消息显示,一家苹果的供应商Xintec,准备在明年就大规模生产虹膜扫描识别组件,这可能是一个迹象,即苹果将会在明年的新手机中植入虹膜识别。
此前,有关iPhone 8已经出现了很多传言和报道,比较确信的是这款手机将第一次使用OLED显示屏幕,另外将会取消前面板的实体键,另外采用全玻璃外壳,在外观上,这款手机将和苹果已经销售了三年的外观有着巨大差别。
值得一提的是,如果苹果按照传言所称,取消Home按键,则新增加的虹膜识别将作为一种身份识别的替代手段。
通信圈
1、 五轴防抖相机加持,索尼正式发布 Xperia XZ。
北京时间 9 月 1 日傍晚,索尼在德国柏林正式发布新款旗舰 Xperia XZ。
在保留索尼手机经典方正造型的同时,Xperia XZ 机身边缘的线条变得更加圆润,正面第四代大猩猩玻璃和背面金属均有弧边设计,估计有不错的握持感。不过,Xperia XZ 的正脸上下略显冗余,从而也显得屏占比不高,其指纹识别依然设计在侧边。
索尼 Xperia XZ 的后置 2300 万像素摄像头为 1 / 2.3 英寸传感器、24mm G 镜头,最大光圈 f / 2.0。这款摄像头同样支持三重图像感应技术( 色彩检测系统、相位自动对焦、激光自动对焦 )以及 RGBC-IR 感应器,后者有助于提升色彩和白平衡的准确度。值得一提的是,该机还支持 4K 视频录制,这一功能曾在今年上半年的索尼旗舰机上被取消。
作为一大亮点,官方宣称 Xperia XZ 是全球首款支持五轴防抖技术的智能手机,索尼也把自家微单相机上的技术应用到智能手机镜头上。
2、Note7电池门发酵央视报道。
三星宣布在全球范围内召回旗下的最新旗舰机型Galaxy Note7,并承认电池质量确实存在问题。据悉,早期售出的40万部Note7将全部被召回,但此举并不包含中国,中国区将从今晚11点开始正式发售该机的国行版。
三星称将对用户进行无偿的维修及更换电池服务,中国区的销售之所以不会推迟,是因为该机的国行版并没有采用问题供应商提供的电池。
3、努比亚无边框手机再进阶 Z11黑金版六大升级。
智东西9月1日消息,进入9月,国内外智能手机市场活络起来,一批年度新品推出,国内新秀努比亚继续将无边框概念进化,今天在德国IFA大展期间,努比亚在中德两地几乎同时推出了Z11的黑金版本。
所谓黑金传奇,简单地看是整机的金色金属和黑色屏幕的搭配设计,支撑这个设计的背后是设计和相应处理工艺的进化。同时,屏幕本身加入了防指纹涂层。金色的部分,采用了航空级的铝合金金属材质,据说比较了十几家供应商。经由五轴铣刀的CNC工艺,通过22个红外探头监测下的激光铣刀加工。同时,表面通过了3次阳极氧化处理。手机上的努比亚品牌Logo也采用了镭雕二次氧化处理。
新进展
1、为Facebook发射卫星的猎鹰9号火箭爆炸。
原计划于本周六为Facebook发射互联网卫星的SpaceX “猎鹰9号”(Falcon 9)火箭刚刚发生爆炸,卫星也在爆炸中损毁,所幸没有人员伤亡。
美国国家航空航天局(NASA)称,火箭爆炸发生在当地时间周四早上,当时SpaceX正在对火箭进行例行测试。这颗火箭位于佛罗里达州卡纳维拉尔角空军基地(Cape Canaveral Air Force Station)发射台,原计划于本周六为Facebook发射首颗互联网卫星。
2、京东发布无人配送车 称明年有望大规模商用。
9月1日下午消息,京东集团宣布,由其自主研发的中国首辆无人配送车已经进入路测阶段,10月份即将开始试运营,明年有望进行大规模商用。
据京东方面介绍,此次发布的无人车体积较小,长宽高分别为1m、0.8m、0.6m,具备6个不同大小的载货舱,可以按照既定路线自动导航行驶,并具备路径规划、智能避障、车道保持、智能跟随等功能;无人车在配送站完成商品装载,根据目的地进行自主路径规划,寻找最短路径并规避拥堵路段;在行驶过程中,遇到行人、宠物、车辆等障碍物,可以进行避障,绕路行驶,遇到十字路口,可以识别红绿灯做出相应行驶决策;自动行驶到目标建筑的指定位置后,它会通过京东APP、手机短信等方式通知用户收货;用户到无人车前输入提货码就可以打开货仓,取走自己的包裹。
3、小米支付正式上线 首批合作20家银行。
9月1日,小米联合中国银联正式发布小米支付(Mi Pay),成为继苹果、三星、华为后又一家与中国银联达成合作的手机厂商。小米支付首批合作20家银行信用卡和借记卡,覆盖国内各个大行,9月1日起正式上线。
4、三星展示两款新智能手表 使用不需连接手机。
三星周三展示了该公司的两款新智能手表,其中一款名为“Gear S3 Frontier”,另一款则名为“Gear S3 Classic”。三星的这两款新智能手表配置了大量的数字功能,而且电池续航时间可以长达4天。
Gear S3 Frontier智能手表采用了凹凸不平的户外设计,而Gear S3 Classic则配置了更加精炼的外观设计,不过,这两款新智能手表都配置了较大的界面,此举可能是为了着力吸引男性消费者。
Gear S3 Frontier智能手表配置了自身的蜂窝无线芯片,以此与高速4G移动网络连接,这样该手表就不需要再依赖于用户的智能手机连接才能拔打电话或发送和接收数据,这一功能有别于苹果的Apple Watch。要知道,Apple Watch要求用户在使用时,必须将此智能手表与iPhone相连。
5、任天堂下一代游戏机NX或将不再锁区。
北京时间9月1日上午消息,任天堂NX游戏机尚未正式推出,但已有传言称,这款产品将不再锁区,与此前该公司出产的3DS、Wii U和几乎所有家用游戏机形成鲜明对比。
这条消息源自“让我们玩视频游戏”(Let’s Play Video Games)网站的劳拉·戴尔(Laura Dale),她不断为大家提供掌上游戏机的最新信息。去年,任天堂前社长岩田聪(Satoru Iwata)告诉投资者,游戏主机放弃锁区似乎是不可避免的,任天堂将“对未来发展持乐观态度”,然而,这一看法在3DS和Wii U上没有体现。
财报季
1、受Galaxy Note7发货推迟影响 三星股价一度跌3%。
据路透社报道,受Galaxy Note 7手机发货因电池爆炸推迟消息影响,三星股价周四跌至两周新低,原因是市场担心三星手机业务利润受到拖累。三星周三公布了Galaxy Note 7销售推迟的消息,并表示已经停止向韩国三大移动运营商交付Galaxy Note 7,向希望三星手机业务今年下半年利润强劲增长的投资者泼了一瓢冷水。
2、库克又抛售苹果股票:套现2900万美元。
北京时间9月1日上午消息,苹果周三提交给美国证券交易委员会(SEC)的文件显示,该公司CEO蒂姆·库克(Tim Cook)通过出售269,883股苹果股票套现逾2870万美元,加权平均交易价格在105.95至107.37美元之间。
此次套现前不到一周,库克刚刚迎来了出任苹果CEO五周年的纪念日。根据2011年获得的一份薪酬组合,他因此获得了126万股受限股,其中包括98万股以时间为条件的受限股和28万股以业绩为条件的受限股。







