智东西(公众号:zhidxcom)
编 | 晓寒
「智东西」早报
第467期 2016.10.13 周四
VR/AR
1.国内初创推VR/AR一体机
今天下午Focalmax在北京召开以“一探虚实”为主题的SCATI ONE VR/AR一体机发布会暨VR生态系统战略发布会。发布会上不仅公布了一系列Scati ONE的新品,而且Focalmax与美国高通、1905互动、京东等合作伙伴共建VR生态系统。
Scati ONE系列的三个版本Scati ONE Lite/ ONE Neo/ ONE的最大亮点在于其高规格的光学引擎:支持 2.5K高清显示屏、FOV110°大视场角沉浸感更佳、方形非球面单眼双镜片完美适配矩形屏幕、超低色散光学级材质消除红蓝边缘,以及自适应瞳距等性能,无不展示着Focalmax强大的自主光学研发能力。
2.王雪红称Vive销量远超14万
目前,HTC董事长王雪红透露了一些信息:这自然是有关自家HTC Vive销量究竟有多少。之前有媒体根据知名VR游戏《Raw Data》预测HTC vive VR的销量在14万台左右。王雪红在接受国内媒体采访时表示HTC Vive的销量远远超过14万台。
此外,王雪红还透露,HTC目前正在和谷歌密切合作,首批支持谷歌Daydream VR的Pixel和Pixel XL手机就是HTC代工的,接下来,双方还将在移动VR领域的更多方面展开合作。
3.HoloLens海外6国接受预定
据外媒报道,微软下个月将把HoloLens头盔带到更多的国家,它计划在11月时将澳大利亚、法国、德国、爱尔兰、新西兰和英国纳入HoloLens的销售范围。
微软将从今日开始接受来自这些国家的预订单,发货则将从下个月开始。微软最早在美国发布HoloLens开发工具,当时的售价为3000美元。这些工具在欧洲、澳大利亚、新西兰和英国的售价将按各国汇率而定。
4.IMAX将在欧洲首设VR中心
10月12日消息,巨幕电影公司IMAX正在进军虚拟现实市场。该公司将启动全新的欧洲虚拟现实中心。在全球各地,IMAX已启动了多个虚拟现实项目,包括在洛杉矶成立的第一个虚拟现实中心。
IMAX表示,欧洲的首个中心将位于英国曼彻斯特,将于2016年底之前开幕。这里将提供多种虚拟现实体验,时长为5到15分钟,内容将来自好莱坞和游戏发行商。
IMAX表示,最终将通过虚拟现实中心提供该公司与谷歌合作、使用“影院级”虚拟现实摄像机拍摄的内容。业内人士猜测,这些内容的主演可能包括布拉德·皮特和摩根·弗里曼等好莱坞明星。IMAX也在与宏碁和Starbreeze合作,开发全景虚拟现实头戴硬件。
通信圈
1.传Note7爆炸系曲面屏所致
10月12日消息,据外媒报道,如果没有爆炸事故发生,Note 7肯定是今年安卓阵营当之无愧的机皇。三星在该机的设计上非常前瞻,用到了多个“第一次”。不过,专家经分析后认为,精美的外观设计可能就是造成这款短命机皇灰溜溜退市的罪魁祸首。
不过,这样完美的外观设计却最终断送了Note 7的前程。第一次召回发生后,泄露的文件显示三星旗下SDI公司生产的电池存在公差,它比Note7机身的电池仓稍大(头发丝大小的误差)。因此装配时只能用力塞进去,这就造成了机身内的隔离板离边框太近,一旦遭遇外力,电池正负极就会冲破隔离板相互接触,造成短路起火。此外,研究人员发现由其他代工厂生产的绝缘胶带也存在质量问题。
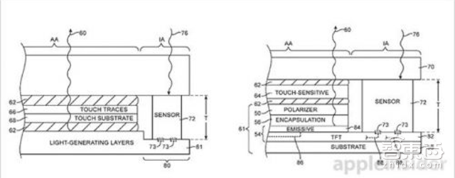
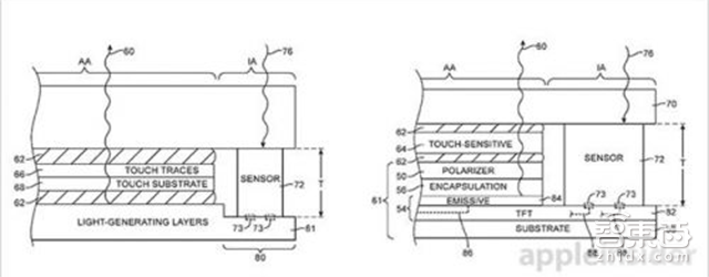
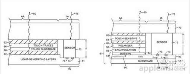
2.苹果获得屏幕传感器专利
iPhone 8 的屏幕到底会变成什么样我们还不知道,不过,苹果近日又获得了一项新专利,这项新专利叫做“显示屏集成光线传感器电子设备”,要知道,如今光传感器通常都是独立设计的,虽然说这样设计有利于生产,但是实际上这也在某种程度上浪费为数不多的空间,而如今,iPhone 的光传感器被安置在屏幕上方,听筒的旁边。
苹果提出的这个专利实际上就是将传感器与屏幕结合起来,而不是像现在的 iPhone 这样,将传感器配置在屏幕上方。这样的设计调整,可以为最终的设计规范节省几毫米的宝贵设计空间,并且为无边框设计铺平道路。
3.爱立信三季度营收大幅下降
10月12日消息,据彭博社报道,爱立信当日公布了第三季度业绩,该季度营收同比下降14%至511亿瑞典克朗(约合58亿美元),为10多年来最大降幅。运营利润从51亿瑞典克朗下降到3亿瑞典克朗。
他表示:“这绝对不是爱立信终结的开始,我们很多年都证明我们擅长调整。”该季度爱立信毛利润率下降至28%,为2001年以来最低。该公司称,巴西、俄罗斯和一些中东市场对其增长计划很关键,但这些国家的经济都低迷,欧洲运营商去年完成了移动宽带项目对其业务也有影响。
汽车界
1.本田在日推3D打印电动汽车
据外媒报道,近日本田和日本 3D 打印公司 Kabuku 推出一款定制的电动汽车,本款汽车最为独特的地方时机身是用 3D 打印制作。这款汽车在工业设计和配置上与雷诺 Twizy 概念车有些相似,其使用了轻量型框架,以保证汽车底盘稳定,此外,车身大体则时通过 3D 打印制造。
本田和 Kabuku 公司称,制造这款车的过程中,3D 打印使得其减少了生产的成本和时间,很适合批量生产。该款 3D 打印电动汽车共耗时两个月完成,应用本田 Variable Design Platform 设计理念,将车身和骨架分开进行设计,这样设计使得组件可轻松运用于其他车辆的制造上。和普通车辆不同的是,这辆 3D 打印车只有一个主驾驶座,重量为 600Kg,大小为 2495 x 1280 x 1545 mm。
2.特斯拉停售入门级Model X
10月12日晚间消息,特斯拉日前宣布,已停止销售入门级Model X电动汽车Model X 60D,距离这款汽车上市仅三个月时间。特斯拉今年7月底推出Model X 60D,补贴前售价75000美元。Model X 60D配备了与高配版相同的75 kWh电池组,但续航里程却被人为限制在200英里(实际约为260英里)。如果消费者愿意额外支付9500美元,则可以开启额外的里程。
这也是特斯拉的一种营销方式。特斯拉的另一款产品Model S 70搭载了一块70kWh的电池组(实际为75kWh),续航能力为240英里。但如果愿意多花3000美元,就可以将电池组从70kWh升级到75kWh,多出的5kWh可使续航增加19英里。
对于停售Model X 60D,特斯拉在一份声明中称:“该决定表明,消费者还是希望拥有一辆长续航能力的电动汽车。”
3.丰田质疑加州无人驾驶监管
10月12日消息,北美丰田技术和创新总监希拉里·凯恩(Hilary Cain)周二表示,加州计划要求无人驾驶汽车符合一个安全确认列表,她认为这是“荒谬的”。
她表示:“如果我们不遵守NHTSA提出的要求,就无法在加州测试自动驾驶系统。这是荒谬的。这意味着目前已开始的测试可能被暂停,即将开始的测试可能被推迟。”
NHTSA前主任大卫·斯特里克兰(David Strickland)也质疑,NHTSA是否具备足够的专业性,评估从无人驾驶汽车中获得的所有数据。他表示,美国国会可能需要“更好的资源,帮助NHTSA完成这一新使命”。斯特里克兰目前代表一家无人驾驶行业组织,该组织成员包括谷歌、福特和Uber等。
新进展
1.英特尔推出自主品牌无人机
英特尔公布了首款自主品牌无人机Falcon 8+。这款无人机瞄准了工业场合,例如大型建筑工地。通过用无人机去取代人工进行现场检查,所需要的时间可以大幅减少。
Falcon 8+重量只有6磅(约合2.72千克),飞行速度比市面上常见的业余无人机更快,时速能达到35英里(约合56.3公里)。
这并不是英特尔首次涉足无人机市场。此前,该公司曾与Ascending Technologies展开合作,优化其用于防碰撞的360度深度感知摄像头。英特尔随后收购了Ascending Technologies。目前,这些摄像头用在了该公司的Falcon 8无人机上,而英特尔此次推出的Falcon 8+是这款无人机的后续产品。
2.雅马哈农业无人直升机曝光
人机市场现在越来越火爆,前不久国内无人机大疆发布最新款无人机——御Mavic Pro,说到国内一定要说国外的,国外GoPro在大疆发布最新款之前发布其最新无人机Karma,国外市场中,现在被国人经常提到雅马哈也涉足到无人机市场中,不过这次雅马哈这次推出无人机不简单,那是两款将用于造福农业和工业的无人直升机,据外媒报道称,近日,雅马哈推出两款商用无人直升机,它们分别是Fazer R及Fazer R G2。
据了解,Fazer R主要用于农业领域,它能在空中每次最多可携带32升药剂,向接近4公顷农田喷洒农药,想想农民们听到这部无人直升机一定很开心,但是价格不是一般农户买的起的,这款无人机售价为13424400日元(折合人民币约871063元),将于11月正式上市。还有跟大家说一下就是Fazer R 配备燃油喷射发动机,可提供20.6kW的功率输出,这样可以做到更有效率农业作业工作。
3.优必选推可编程机器人新品
10月12日消息,优必选在北京举办发布会,正式发布全新人形机器人Alpha 1P,其主打教育、娱乐和可编程等功能。据悉,Alpha 1P将在“双11”期间首发。
之前Alpha 1S在春晚上的亮相,受到诸多关注,而本次发布的Alpha 1P则是升级款,在电池续航、外观设计、操作体验等方面均有提升。Alpha 1P全身采用了16个伺服舵机关节,在保证高精度运转的同时,还能应对各种高难度动作。Alpha 1P采用蓝牙连接手机,用户可将各种难度的动作及舞蹈下载到手机上,通过手机控制机器人完成各种动作。此外,优必选还将开放SDK,方便用户自己动手编写Alpha 1P的动作。
在发布会现场,优必选还邀请了英超球队曼城俱乐部的首席商务官汤姆·格里克,他介绍称,优必选作为曼城官方机器人合作伙伴,双方将携手打造一系列联名机器人,为曼城和中国的球迷共同打造崭新的用户体验。
4.苹果推送新版本WatchOS
10月13日消息,苹果周三为注册开发者推送了watchOS 3.1 beta3测试版。测试人员表示,这一更新似乎提高了电池寿命 。watchOS 3.1 beta 3的开发代号为build 14S471。它现在可通过连接iPhone的Apple Watch进行更新。
与iOS和mac OS不同,watch OS没有公开测试版。只有Apple注册开发者才能安装和测试watchOS beta版本。之前的watch OS 3.1 beta版版没有详细说明任何功能更新。 但有些评论者在Reddit上表示他们已经看到安装更新后电池使用时间有所改善。
A股必看
1.科大讯飞Q3预期净利3亿
10月12日,科大讯飞(002230)发布业绩预告,公司预计2016年1-9月份归属于上市公司股东的净利润2.68亿至3.13亿元,同比增长20.00%至40.00%,对公司股价构成重大利好,计算机应用行业平均净利润增长率为15.68%,公司本季度净利润环比上季度增长37.36%至91.06%。
公司表示,1、随着公司人工智能开放平台服务量快速增加,日服务请求数达到30亿次,设备和运营投入、人力投入带来的费用增长较快;2、为加快构建智慧教育生态体系,在个性化学习平台智学网进行战略布局的同时,另一重点产品智慧课堂也采取了创新型的应用布局、运营服务的推广方式,人员和市场投入较大,对应的收益后延对短期经营形成一定压力;3、部分项目由于客户招投标和验收确认等原因,原计划三季度内完成的验收出现延迟,收入顺延到四季度确认,对公司三季度的业绩产生一定影响。
2.科大智能预计Q3盈利翻倍
科大智能(300222)发布业绩预告,公司预计2016年1-9月份归属于上市公司股东的净利润1.60亿至1.73亿元,同比增长85.00%至100.00%,对公司股价构成特大利好,电气设备行业平均净利润增长率为27.25%,公司本季度净利润环比上季度增长117.81%至150.82%。
公司表示,1、本报告期,公司主营业务收入较上年同期实现一定幅度增长。2、公司2015年实施了重大资产重组项目,并购了上海冠致工业自动化有限公司和华晓精密工业(苏州)有限公司,相关资产过户和股份登记手续已全部完成,根据有关合并报表的相关规定,公司2016年前三季度业绩合并上海冠致工业自动化有限公司和华晓精密工业(苏州)有限公司2016年5月至9月业绩利润,对公司2016年前三季度的盈利产生较大影响。3、本报告期,非经常性损益(扣除所得税影响数)对归属于上市公司股东的净利润的贡献金额预计为1,554万元,主要是报告期内收到的银行理财收益。上年同期非经常性损益(扣除所得税影响数)归属于上市公司股东的净利润的贡献金额为667万元。
3.北京君正Q3净利下降7成
10月12日,北京君正(300223)发布业绩预告,公司预计2016年1-9月份归属于上市公司股东的净利润496万至1343万元,同比下降87.20%至65.32%,对公司股价构成利空,半导体及元件行业平均净利润增长率为33.88%,公司本季度净利润环比上季度下降70.82%至增长60.99%。
4.高新兴Q3净利预期翻倍
2016年10月13日发布2016年前三季度业绩预告,2016年1月1日至2016年9月30日,归属于上市公司股东的净利润为19,610.87万元~20,110.87万元,比上年同期增长221.83%~230.04%。
公司表示,公司智慧城市大数据业务、通信安全业务及铁路行车安全业务保持较高增长,预计公司2016年1-9月归属于母公司所有者的净利润约为盈利19,610.87万元~ 20,110.87万元,比上年同期增长221.83%~230.04%。
每日一早报
热点·新品·招聘·资源·活动 最有效的行业对接
需求对接:微信添加“hawkren001”











