智东西(公众号:zhidxcom)
文 | Lina
Magic Leap,这间位于佛罗里达洲,迄今为止一款产品都未问世却能够轻松融资14亿美元的神秘公司可谓是AR界当之无愧的独角兽——不光是融资额度高昂,更重要的是神秘而少见——其一举一动自然备受众人关注。
然而近日一篇由付费订阅媒体《The Information》发布的《Magic Leap背后的真相》一经面世便在互联网上引发轩然大波。文中直指Magic Leap几大痛处,从原型产品过于笨重到在融资与宣传过程中夸大了现阶段技术能达到的效果等。一时网络风起云涌,文章在被各大媒体争相报道转发的过程中进行了大量的渲染和扭曲,真相扑朔迷离。随后,Magic Leap CEO在公司官方网站上发表了一封公开信,对相关问题行了简单回答《Magic Leap CEO公开信回应质疑:原型机正在制造》。
)。
今天,智东西在采访了亮风台CEO廖春元、微软HoloLens光学负责人Bernard Kress、悉见CEO刘洋、影创科技CEO孙立后,整合了现有事实,从视频、产品、技术、创始人、资本收支这五个角度来为读者进行Magic Leap的真相解读。
1.视频真相——真假参杂
本次舆论关注热点问题之一便是所谓的“Magic Leap宣传视频造假”问题——其实这事早已是老生常谈了,似乎每隔一阵子便会被拉出来报道一遍,智东西也曾就此事做过澄清报道。
迄今为止,Magic Leap总共发布了4段相关视频(1-4),以及官网上的2张动态背景视频(5-6)。
其中只有2、3、4三段视频中注有“本视频直接通过Magic Leap科技(technology)拍摄,并未添加后期效果”字样。Magic Leap的CEO Rony Abovitz也在12月11日的二度推特刷屏中再次强调,有注字的视频是真实拍摄的——换而言之,没有注字的视频我们可以默认为是宣传视频。
1)视频:“办公室里平凡的一天”——机器人办公室大战
2)视频:“Magic Leap Demo”——桌底机器人与桌面太阳系(真)
3)视频:“一个崭新的早晨”——AR办公软件及虚拟购物(真)
4)视频:“Magic Leap x 卢卡斯影业”——星球大战里的两个机器人,R2-D2及C-3PO(真)
5)网站背景:鲸鱼从体育馆地面跃起,水花四溅
6)网站背景:掌心中出现跃动的迷你大象
Magic Leap此举的确稍有过度宣传,误导观众的嫌疑,然而却也无可厚非——Magic Leap从未说过没有注字的视频是真实拍摄的,而最广受人“扒真相”的“鲸鱼视频”也只是官网上的动态图片而已,“造假”无从说起。
影创科技CEO孙立则表示:“之所以Magic Leap要夸张宣传,我也是非常理解的。因为光场技术本身要解释起来就挺晦涩难懂的。我们也在研发光场技术(与Magic Leap不同路线),但在解释给普通人甚至是对行业略知一二的人讲起来依旧挺费劲的。所以要让大家有颠覆性的印象,做视频确实是个好的方法。业内人士早就知道这是视频而已,但一些媒体的误读(有媒体宣传成裸眼投影技术)导致了最终大众的印象于实际产品差距越来越大。”
2.产品真相—最新原型机只有两人见过
2015年2月,《麻省理工科技评论》记者Rachel Metz第一次作为可报道的非公司员工进入了Magic Leap公司,见到了神秘的原型产品。根据Rachel Metz《Magic Leap》文中的原话,当时的原型产品是“一副镜头(lenses),连接在我头顶上方的像脚手架一样的金属架子上,还有一堆电子元件和镜头”。戴上它之后,就可以看到“一只巨大的四肢蓝色怪兽”,利用手柄可以把这只怪兽拉近拉远,变大变小;拉近时还可以看到怪兽“粗糙的皮肤,强壮的四肢、以及深陷眼窝与亮晶晶的双眼”。
2016年4月,《连线》创始人兼总编Kevin Kelly在《Magic Leap未曾讲述的故事,世界上最神秘的初创企业》一文中则将那时的产品原型秒速成“一副合成现实头显”,“能够被轻松取下,就像摘掉一副太阳眼镜一样方便”。透过它可以看到一个8英寸的外形机器人在办公室里游晃。“我伸出手的时候,它靠近我,并伸出发光的手指来触摸我的指尖”。并且表示Magic Leap的图像能够在近距离(一臂之内)也显示良好,这是他尝试过的许多VR、MR设备都不能做到的一点。
《连线》的采访视频截图
2016年10月,《福布斯杂志》的科技记者David M. Ewal则在《Magic Leap这家价值45亿美元的神秘企业正在永久性改变着计算机平台》一文中这样说道,“Magic Leap技术的核心是头戴式显示器,但最终产品应该能装进眼镜之中”,并且在之后的Reddit问答中,他与Kevin Kelly同样说到了“我能把Magic Leap的构建的AR物体拉到很近的距离而且不会出现任何问题(HoloLens 在距离大概三四十厘米附近内物体就会消失掉)。有几次全息画面甚至超出了我的最大视角,感觉就像是环绕在我周围”。
2016年12月,《The Information》媒体的记者Reed Albergotti则在《Magic Leap背后的真相》一文及随后的Reddit问答中将他看见的一款原型评价为“类似一个笨重的头盔,以几根电缆连接PC主机,使用时有类似Oculus和HoloLens时的声音,使用类似HTC Vive的手部控制器(但他知道Magic Leap的确在研究摆脱控制器的技术)”,“成像画面类似于HoloLens,但能够让双眼聚焦更自然”,“好处:有着非常的高分辨率、画面、深度信息,在很近处的画面成像效果也非常优秀”,“坏处:低帧频,在转动头部的实话画面会变模糊,依旧无法脱离PC主机的连接(脱离主机这是HoloLens研发过程中最困难的一环,但Magic Leap说他们能在最终产品上实现)”。
不过,CEO Rony Abovitz表示最终的产品将会使用和这次展示中完全不同的技术。Reed Albergotti也在文章中说道,Magic Leap内部所指的最新原型可能是“标准眼镜尺寸”,但是Magic Leap拒绝向他展示这款产品。
在Rony Abovitz于12月9日的首次推特刷屏中,他这样写道——“现在在我们的工厂里:我们正在运行第一批系统小型化产品测试:小巧、简洁、够酷”。
Rony Abovitz还说,最新的PEQ原型产品只有两位投资方见过。(以投资额度来看,我们可以大胆地猜测这两位分别是谷歌和阿里巴巴)
3.技术真相——理论可行,研发困难
目前,围绕Magic Leap技术的讨论主要在于两点:1、光场显示技术小型化的挑战,2、光场技术所需的巨大计算量对现有计算硬件小型化的挑战。
1)光场显示技术小型化
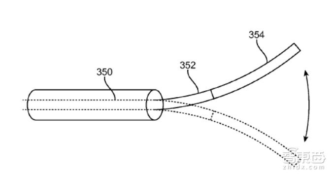
关于Magic Leap的专利技术,智东西曾经在4月的时候出过一篇报道《深挖Magic Leap最新专利 解密45亿美元估值背后牛逼技术》。
),较为详细地介绍了美国专利商标局披露的Magic Leap的8项光学模块专利、3项计算模块专利,围绕着Magic Leap光路模块的主要结构及相关的投影,图像传输和调制技术进行了解读。
报道中提到,Magic Leap的核心技术在于光场显示,即利用光纤阵列显示光场信息:激光经由透镜系统输出,在空中画出了一簇射线,同步地改变经过颜色和强度,一根纤维利用分时技术得到一幅图像。用户可以主动选择性聚焦,一只虚拟的猫就放在了近处,你看它的时候就是实的,你看远处的城堡的时候,这只猫就是虚的,和真实情况一样,所以不会有晕眩感。但这也就要求Magic Leap的设备能精确的调控机械部件,使得每一个纤维都稳定自然地颤动,并且颤动的模式要和数据传输相互同步,不受外界噪音的影响。
在Magic Leap的专利中,光路模块设计方面很有亮点——采用了大量的自由形态波导来实现人工学设计,并辅以光路补偿;将扫描电磁成像辐射集成化的成果,应用于AR设备,很有新意。总的来说显像技术并非过分高深的学科,然而如果Magic Leap想做混合显示,则需要波导阵列来实现更灵活的聚焦。然而多层波导可能存在串扰等问题,系统过于复杂,存在很多技术难关。
微软HoloLens光学负责人Bernard Kress博士则表示,“波导阵列可能是光场技术的唯一解决方式,光纤震动只有在很少的情况下需要——这一点和现有的VR技术有所不同。”
除了Magic Leap外,斯坦福大学也在做此项技术的研究。这项技术理论上是可行的,如果不计成本,现有技术已经能够达到不错的显示效果,然而无法真正应用到消费级的工业水平:在近日印发轩然大波的《Magic Leap背后的真相》一文中,作者最主要的攻击点之一便是Magic Leap的核心技术在小型化方面遇到困难。小型化不仅是体积缩小,还存在成本与量产能力的问题。
影创科技CEO孙立也表示:“如果仅仅是缩小,还不足以。还要看其成本和量产能力,就像当前的光波导技术。机械结构要小型化的难度极大,并且稳定性、量产能力都将是更严重的问题。小型化并非没有可能,但是我觉得在很长一段时间(甚至可能在此期间出现了更好的技术)都难以量产。”
亮风台CEO廖春元则表示,“做实用的AR产品,倒也并不一定非要等Magic Leap的技术。”
2)计算硬件小型化
在计算硬件小型化方面,亮风台CEO廖春元说,“Magic Leap的技术在光场采集和播放设备的小型化和量产化存在很大难题。除了显示硬件本身的小型化外,光场技术所需的巨大计算量也对计算硬件的小性化提出挑战。”
简单来说,就是光场技术采集、储存、处理的数据量巨大,现有半导体与集成电路发展不够迅速,计算硬件发展无法跟上。
悉见CEO刘洋则表示,“小型化和芯片化依赖于整个半导体和集成电路行业的发展。科技界的主要矛盾,是人类对物理计算/存储/传输能力的需求和实际基础产业演进进度的矛盾。”
除此之外,光场技术在集成与材料方面也存在难题。简单来说就是现有技术不利于集成,显像效果不佳,材料兼容性差,太复杂不利于软件开发。
在问及“以现有发展速度而言,离相关技术成熟还需要多久?”时,采访人们都不约而同给出了4-5年的时间期限。可在短期内恐怕是不会有成熟的AR眼镜消费级产品出现了,我们还需要多一点耐心。
4.创始人真相——机器人出身的专业梦想家

长久以来,外界对这个毫无VR/AR背景的Magic Leap创始人Rony Abovitz的评价一直褒贬不一,正如外界对2012年Rony Abovitz在TED大会上那场极端后现代的演讲展示一样,喜欢的人捧上云端,不喜之人踩在泥里。
Rony Abovitz,Magic Leap创始人兼CEO,现年45岁,迈阿密大学机械工程师学士,生物工程系硕士。作为一个《星球大战》的死忠粉丝,Rony Abovitz在1997年创办了自己的首家公司Z-KAT。事后,Rony Abovitz回忆说:“我决定要打造跟《星球大战》那样的医学机器人,我认为,我当时是真的冲动,自己当时不能制作出X-wing战机。”
在先后说服了外科医生Wayne Kerness、西北大学机械工程学教授Michael Peshkin及其研究生Julio Santos-Munné加入后,26岁的Rony Abovitz与大学同学William Tapia一同在佛罗里达州创办了专注于机械辅助外科医疗的Z-KAT公司(公司名字为Kerness,Abovitz,Tapia还有Lima US的CEO Guido Zoroli的名字的缩写,Zoroli曾允许开发团队在下班后使用Lima的办公室)。
2004年,Rony Abovitz带领一众Z-KAT核心成员成立了MAKO Surgical手术器材公司,并兼任CTO及SVP高级副总裁。MAKO Surgical买下了Z-KAT的大部分知识产权,但更专注于新型可触碰医疗机器人技术,以及一系列机器人辅助外科手术。
2008年2月,MAKO Surgical成功于美国纳斯达克上市。
2010年5月,39岁的Rony Abovitz辞去了CTO职位,但仍继续担任MAKO Surgical的CVO——Chief Visionary Advisor,首席远见顾问,专业梦想家。
此时,他在自家的车库中创办了新工作室Magic Leap Studios,并联系了位于新西兰的、曾为指环王制作特效的维塔工作室,专门把他一直开展的“Hour Blue”的项目——“一个外星球中充满会说话的机器人、飞翔的鲸鱼等神奇的生物”开发为图形小说系列和电影系列。
随后,梦做得越来越大,Rony Abovitz开始思考如何利用技术将这些设想带到现实。2011年,工作室发行了名为Hour Blue的AR app;再后来,Magic Leap Studios改名为Magic Leap,Rony Abovitz也组建了一支小规模的团队,帮助他研发混合现实技术,并在随后开始研发原型产品。
2013年9月,美国整形设备制造商Stryker公司以16.5亿美元的价格收购了MAKO Surgical,算是正式为Rony Abovitz的MAKO之旅画上了一个句号。此后,Rony Abovitz开始一心投入到Magic Leap上来,并在2014年2月获得第一笔私募融资。
外界对Rony Abovitz本人的评价大多是,“睿智”、“才华横溢”、“创意无限”、“他乐于谈论那些短期内目测无法实现的事物”。而从本次The Information文章事件后接连不断的,带着几分幽默、几分嘲讽的推特刷屏中可以看出,这位创始人恐怕还是个有些火爆的急性子。
5.资本收支真相——研发、生产、扩张、诉讼
收入:Magic Leap总计融资大约14亿美元,估值达到45亿美元。
2014年2月,完成私募资金的5000万美元A轮融资。
2014年10月,获得由谷歌领投的5.42亿美元B轮融资,谷歌CEO Sundar Pinchai出任该公司董事。
2016年2月,获得7.935亿美元C轮投资,阿里巴巴、谷歌都参与本轮融资。
支出:建立厂房及生产线。硬件研发。算法研发。早期产品迭代。收购公司。雇佣高管。扩展团队。诉讼风波等。
员工总数从2014年的40多人发展到如今的超过800人。
在西雅图、硅谷、洛杉矶、奥斯汀、以色列、英国、新西兰等地都建有研究所与办公据点。
在佛罗里建设了25万平方英尺的厂房,并在在Plantation的园区内建造生产设施,具备一系列完善的生产线——Rony Abovitz说,“我们是一家‘全栈式’科技公司,硬件、软件、电子电路、芯片设计和传感器都是我们做的。”
把关键开发团队集中起来,对产品原型进行“数百次的迭代”——量产化早期成品率会很低。
收购了以色列的NorthBit公司,以提升自己的系统安全水平。
收购3D重建技术初创公司Virtroid,因为涉及保密协议未透露收购价格。
雇佣了前Beats by Dr.Dre和Beats Music首席财务官Scott Henry担任CFO。
雇佣三星美国研究中心负责软件平台的副总裁Yannick Pellet担任软件工程高级副总裁。
雇佣在线音乐视频服务Vevo的联合创始人Rio Caraeff担任内容总监一职。
雇佣SiriusXM 广播公司担任公司战略和业务发展高级副总裁Rachna Bhasin担任首席商务官。
雇佣HTC Vive全球市场部的执行董事Jeff Gattis担任产品市场部负责人。
雇佣国家地理Brenda Freeman担任首席营销总监。
2016年5月,Magic Leap将两位高管Gary Bradski与Adrian Kaehler告上法庭,控诉两人盗窃公司机密技术,成立自己公司,并非法地向第三方公司泄露商业机密。随后两名高管反诉Magic Leap公司非法终止合同,侵犯自己的利益。随后这两位高管从 Magic Leap离职,并分别创办了和深度学习与机器人有关的公司。
且不论这场长达5月的诉讼风波将会产生一笔多么大的律师费用(答案:金额巨大),离职的Gary Bradski是计算机视觉领域的殿堂级专家人物,也是OpenCV创始人,更是Magic Leap顶级核心技术团队成员,他的离开必然会对公司造成一定伤害。
结论:
从五个维度看下来,Magic Leap既不是人们口中超越科技的神级存在,也不是一个招摇撞骗的“诈骗集团”。它只是一间有着死忠星战迷作为大老板的科技公司,带领着团队试图解决某个极端困难的问题而已。他们的技术水平既没有外界想象的那么好,也没有外界想象得那么糟。
技术发展从来都是一点一点“抠砖缝”的事情,需要经过无数次的产品迭代。既然创始人想要一个“魔法般的飞跃”,让我们省去前期试用不成熟产品的经历,那我们不妨耐心等待,多给它一点时间。
每日一头条
趋势·深度·犀利·干货,最专业的行业解读
深喉爆料、投稿:guoren@zhidx.com






