智东西(公众号:zhidxcom)
文 | 寓扬
当你还在期待iPhone出个双卡槽的双待版本时,或者还在丢手机后奔赴运营商营业厅补卡时,一项新的技术正在颠覆这些场景,那就是e-SIM卡,即所谓的虚拟SIM卡技术,这项并不算新的技术近年开始受到苹果、三星、英特尔等巨头们青睐,很快将走向应用。
在今年6月初的台北电脑展上,英特尔联合惠普、戴尔、联想、华硕、宏碁、小米和三星提出了“Always Connected PC”(全互联PC)的概念,并宣布将在今年开始普及e-SIM技术,来实现笔记本随时随地上网。
而在今年2月底MWC 2017世界通信展会上,联想推出了一款具备e-SIM服务的笔记本,该新品可根据所在地区、网络状况,自由切换运营商网络,享受本地网络服务。
不仅PC如此,移动设备也积极拥抱e-SIM技术。苹果早在2014年就在其发布的LTE版iPad Air2上,就采取过类似的方案,其在机身内置了一枚Apple SIM卡,用户可以直接向苹果合作的运营商购买网络服务。但此举更多的停留在试验阶段,一方面支持该SIM卡的运营商有限,另一方面它还是为用户预留了SIM卡槽。
(图为苹果iPad Air 2支持多家运营商网络)
更有趣的是,在2015年7月份,“相爱相杀”的苹果和三星除了供应链的合作外,又联手劝说运营商配合自身研发和使用全新的SIM卡标准,即嵌入式的e-SIM技术,能够让移动设备方便地在不同运营商网络之间切换。
除了上面提到的芯片巨头英特尔,移动设备厂商苹果、三星,以及PC设备厂商惠普、戴尔、联想华硕等对e-SIM情有独钟,还有AT&T、德国电信、西班牙电信和沃达丰等大型运营商也对e-SIM青睐有加,纷纷表示支持。
那么e-SIM卡究竟有何魅力,引无数大佬竞相追捧?它又否能够取代传统的SIM卡独霸天下?
一、用户再也不用为“卡”所困
所谓SIM卡(Subscriber Identification Module)全称是客户识别模块,它有两个基本的功能身份识别和数据存储。典型的应用就是我们手机中的SIM卡,无论用户使用2G/3G/4G哪种网络,都需要SIM卡提供身份识别方可访问。
而e-SIM卡逻辑上是和SIM卡相同的,也并非虚拟的SIM卡,它是直接嵌入手机中的SIM卡。中移动物联网的一位负责人告诉智东西,e-SIM卡可直接嵌入手机中,而不需要购买运营商的实体SIM卡。
相比SIM卡,e-SIM卡的有两个明显优势,其一在于体积小、功耗低,它可以节省90%的体积;其二在于它和通信模块的对接以及管理主要是软件层面实现的,可通过软件可实现不同运营商网络之间的无缝切换。
具体到应用层面,第一它可以使产品更轻薄。以十分注重设计感的苹果为例,通过使用e-SIM卡,可以大大缩小SIM卡的空间,从而使产品的设计更薄更轻便,并在工艺上产生新的突破。难怪苹果从2014年就开始不遗余力的推出Apple SIM卡,并在2015年和其主要竞争对手三星合作共同推广e-SIM技术。
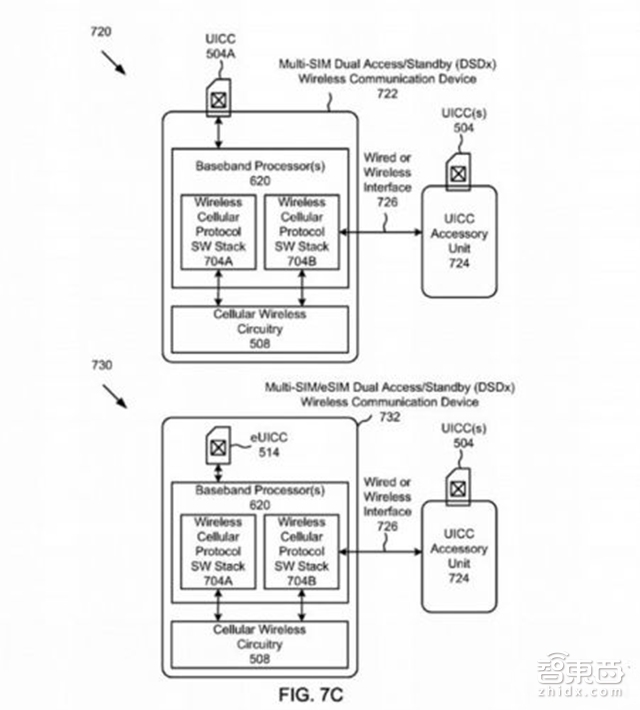
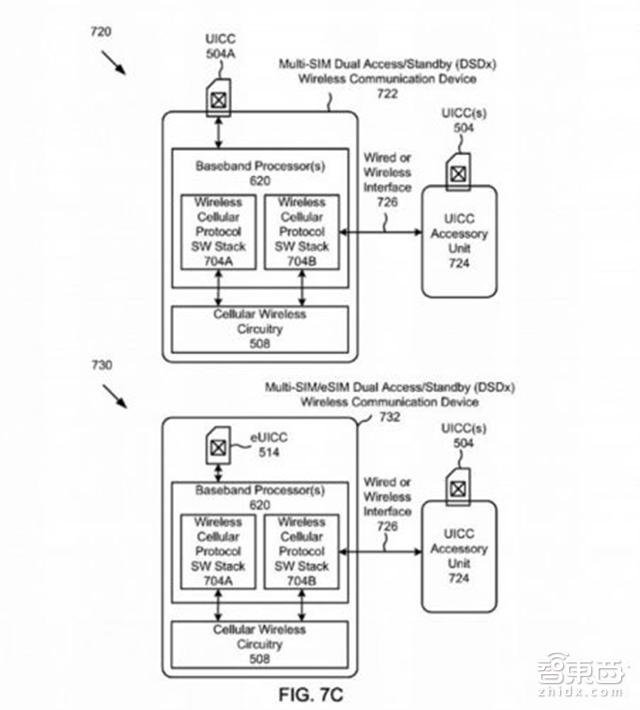
据了解,苹果在今年3月底获得了一项代号为“20170094628”的专利,苹果在这件专利中描述了简化设备中双SIM或多SIM功能后台管理技术,其考虑了SIM卡和e-SIM在一台设备中共存的场景,因此未来的iPhone 8中可能同时支持SIM卡和e-SIM卡也并不稀奇。
(图为苹果e-SIM卡相关的专利图)
第二,e-SIM卡可实现空中写卡,可支持多家运营商网络,用户可摆脱SIM卡的限制,根据具体情况实现不同运营商之间的切换,不再需要专门使用一家运营商网络。具体来讲,比如你使用国内三大运营商的SIM卡去美国,就需要提前开通国际漫游服务,暂时使用美国运营商的服务,但如果你想使用当地运营商的套餐的话,就需要单独办一张本地的SIM卡才行。
而有了e-SIM卡,我们就再也不受高昂漫游费的限制了,也不需要开通国际漫游。我们可以随意的在不同的运营商之间切换,只要所在地区的运营商是我们手机的合作运营商,我们都可以使用其网络,从而真正享受本地网络服务。这样就可以为用户节省成本和带来便利性。
此外,e-SIM卡的出现可能会改变既有产业链中不同玩家的位置和利益分成。中移动物联网该负责人也表示,e-SIM技术很有前景,该技术目前已经相对成熟,但牵涉到行业,不只是利益,整个行业的配合度,对e-SIM技术的认可度,都需要一个较长的时间来推进。
二、终端设备商地位崛起 运营商现有利润受挑战
尽管e-SIM技术由苹果、三星、微软等巨头推动,又有芯片巨头英特尔加持,还有一堆惠普、戴尔、联想、华硕等PC生产商鼎力相助,但它的存在无疑改变了现有产业链中玩家的地位和利润的分配。
一方面现有运营商的利润和地位将会受到挑战,另一方面终端设备商的地位将会增强,获得更多话语权。既有产业链中的规则或将受到变革,而用户则可以从中获得更大的便捷和自由度。
尽管外国一些大的运营商也表示支持e-SIM技术,如AT&T、德国电信、西班牙电信、沃达丰等,但无疑现有运营商的利润和地位是受到一定挑战的,而目前国内也并无政策驱动,三大运营商也都持观望状态。
具体来讲,原来是由运营商主导SIM卡的产业链,掌握SIM卡的销售,通过与手机号码相绑定,从而紧紧锁定用户,而用户也只能使用选定运营商的服务。在长达20多年的时间里,运营商也靠此赚的盆满钵满。而e-SIM卡的出现,运营商苦心经营的“圈地运动”可能将一去不复返。因为用户可以根据网速、费用等自由切换运营商网络。
终端设备制造商地位将会增强。谁离用户最近,谁获得的利润和话语权就越大。以手机设备为例,用户通过e-SIM卡直接面向手机生产商,而与运营商的联系大大降低。手机生产商可以接入多种运营商网络支持,并根据用户需求、地理位置、网络情况为用户自由切换网络,从而更好的满足用户的需求。在过去以及现在是终端设备商向运营商寻求合作,而随着e-SIM卡的普及,很有可能转变这种合作模式,变成运营商主动寻求硬件设备商寻求合作。
另外对中小运营商而言,或许又是一次机会。在SIM卡时代,大的运营商凭借自身优势,将电话号码和SIM卡捆绑出售给用户,而中小运营商则夹缝中求生存。但在e-SIM卡中,中小运营商只需在某一地提供优质的网络服务,即可获得合作与利益。
但运营商又怎么甘心自己既得利益被侵犯呢?或许e-SIM技术代表了物联网的未来,但其发展将会受到运营商和终端设备商之间的周旋,以及政策的引导。这也是为什么尽管巨头们都在支持,但其落地仍需一定时间。
三、众玩家追捧 目的各不相同
那么问题又来了,为什么在SIM卡产业链中存在了利益洗牌,而无论是终端设备商、芯片商还是运营商,都开始支持e-SIM技术呢?
苹果、三星等智能手机厂商无疑想成为新规则的制定者。其一通过e-SIM技术的普及和应用,苹果三星可以在产品设计上进行优化,生产出更加薄更加便捷的产品。其二在于用户体验,通过与全球多家运营商的合作,并通过软件层面来为用户随时切换到最流畅的网络,并未用户提供最优的资费组合套餐,能够为用户提供最佳的体验。其三在于争夺运营商的对用户的控制权,通过e-SIM卡,加强直接同用户之间的联系,成为流量的分发者,进而获得更大的话语权。
(图为联想发布e-SIM服务)
而对于芯片厂商而言,e-SIM或也将成为继PC、移动互联网之后的再一次利益争夺。来自因特尔的技术负责人对智东西表示,英特尔看好5G技术,并相信“全互联PC”对于实现5G的优势必不可少,而且有助于扩展设备的互联互通。英特尔当前的XMM 7260调制解调器,以及即将发布的英特尔XMM 7360调制解调器支持e-SIM,而现在多家运营商正在使用英特尔的XMM 7620。另外,英特尔与微软的合作也验证了支持e-SIM的ACPC平台,预计支持e-SIM的平台将在今年晚些时候上市。可见英特尔在e-SIM上下足了功夫。
英特尔在PC时代赚得了盆满钵满,然而随着高通强势入驻移动终端,英特尔错失了进入市场的最佳时机,让高通在移动互联网时代强势发展。而e-SIM技术可能将会是这些芯片巨头争夺的下一个广阔市场,迫不及待的英特尔联合众多PC玩家,提出的“Always Connected PC”(全互联PC)是否是为了报移动互联时代的“一箭之仇”,从而在终端设备、甚至物联网领域再次获得“霸主地位”?
尽管国内三大运营商尚处于观望状态,也面临着利润的寝室和地位的挑战,但不代表他们不支持和拥抱e-SIM技术。AT&T、德国电信、沃达丰等国际大运营商纷纷表示支持e-SIM技术,一方面正是其看到了e-SIM技术在智能手机、终端设备以及物联网领域的广阔市场,尽管从运营手机流量来说,其利润可能受到一定影响。但是试想一下,在万物互联的时代,e-SIM卡植入数百亿的物联网设备中,这需要的网络和流量又是何其巨大,从这个角度来说,拥抱技术,才能获得更大的市场规模。
另一方面,e-SIM卡以及物联网也为运营商提供了一个全新的契机。以中移动为例,从今年的CES Aisa中可以看出中移动强势进军物联网领域,其在自研的NB-IoT芯片中也嵌入的e-SIM卡,布局专用芯片模块,搭建OneNET物联网开放平台,并在智能家居、可穿戴设备、车联网等领域齐头并进,中移动将由传统的网络运营商转变为一个物联网整套方案提供商,从而实现自身的转型升级。
可以看出,正是e-SIM技术代表了未来设备互联互通、随时联网的一种趋势,其受到相关产业链上从芯片到运营商再到终端设备商的支持和用户。
四、应用空间广阔 海量市场规模
尽管目前推动e-SIM技术的公司还主要集中在智能手机、PC笔记本等行业,而未来e-SIM技术也很有可能率先在这些行业应用。而根据全球行动通讯系统协会(GSMA)在今年3月份的报告显示,到今年中,全球手机用户人数将突破50亿人。可见手机设备体量的庞大,e-SIM仅仅在手机市场就有广阔的发展空间。
但e-SIM技术的应用领域远不止手机、PC笔记本行业,其在智能家居、可穿戴设备、车联网、NB-IoT领域都可以应用,毕竟e-SIM卡体积可达目前十分之一大小,并且可以嵌入设备中。
而据Machina Research 2015年5月的报告预测,2015 年全球已实现网络互连的终端总数为160亿,到2025年全球M2M(Machine to Machine)连接设备数量将达到300亿。这意味着随着物联网设备数量的不断增多,e-SIM应用的市场规模也将不断扩大。
此外,调查公司Smart Insights预测:到2020年以前,将有34.6亿~86.4亿台搭载e-SIM的设备出货;在未来10年内,传统的实体SIM卡将会减少至少16%的出货量。
可见,在万亿级的物联网领域,作为底层技术的e-SIM将大有发展空间。而围绕e-SIM的芯片厂商、运营商、终端设备商将获得更多的市场份额,尤其是终端设备的应用上,将呈现“百花齐放”的局面。
五、物联网——e-SIM应用的下一站
尽管e-SIM对智能手机很重要,但其不可忽视的空间在整个物联网领域,比如智能家居、车联网、可穿戴设备以及NB-IoT领域等。
在物联网领域,尤其是NB-IoT领域,e-SIM技术将成为明显优势。因为NB-IoT主要应用在低功耗的广域物联网中,e-SIM具有低功耗的优势,可降低终端设备的功耗,从而延长使用时间。
据中移动物联网该负责人表示,中移动物联网在今年CES Aisa上展示的芯片模块中就嵌入了e-SIM卡,从而应用代智能电表、智能水表领域。此外,像智能井盖、智能路灯、工业监测、农业监测等领域都可以应用e-SIM卡技术。
而在可穿戴领域,e-SIM卡体积小,可节省90%的体积,可以嵌入更小的设备中,比如像智能手环、智能手表等,从而让产品的设计更加轻巧,而且可以随时随地联网。
但由于物联网商业应用在近年才开始爆发,而2017年也被称为NB-IoT的商用元年,这一切都决定了e-SIM在物联网领域的应用还需要一个普及的过程,和很长一段路要走,这涉及到整个行业的认同和配合。
结语
智能手机已经和我们融为一体,我们每个人都是“手机人”,而网速就是我们的“生命”。试想如果我们可以在不同的地点自由选择切换到不同的运营商,从而获得当地最快捷的网速该有多好,再也不用受一家运营商网络的束缚。当我们出国时,再也不用支付昂贵的漫游费,手机自动切换到当地的网络,我们可以自由的享受当地的网络服务会是多么便捷。这并非幻想,只需要一个小小的e-SIM卡。
e-SIM卡取代传统的SIM卡,必将成为一个大的趋势,其功耗低、体积小的优势更有利于嵌入到更多的芯片模块之中,从而应用到广阔的物联网领域。
尽管有苹果、三星、微软等互联网巨头的推动,也有英特尔等芯片巨头的支持,但e-SIM的普及和应用牵涉到整个行业,以及利益的协商和再分配,这都决定了e-SIM技术的推进不可能一蹴而就。e-SIM的未来需要政策的引导和整个行业的认同与配合。
每日一头条
趋势·深度·犀利·干货,最专业的行业解读
深喉爆料、投稿:guoren@zhidx.com







